1. gr.
Gildissvið.
Í samræmi við reglugerð um mælitæki og aðferðir við mælifræðilegt eftirlit, er nauðsynlegt að mæla fyrir um tæknikröfur um hönnun mælikerfa og hvernig þau vinna.
Reglugerð þessi tekur til mælikerfa fyrir vökva aðra en vatn, með rennslismælum þar sem vökvinn kemur hreyfanlegum skilveggjum mælihólfa á hreyfingu.
Skilgreiningar.
Í reglugerð þessari hafa eftirfarandi orð merkingu sem hér segir:
Frumsannprófun: (EBE-frumsannprófun) Aðferð, sem lýst er í þessari reglugerð, til að ganga úr skugga um að framleiðsla tækis sé í samræmi við viðurkennda frumgerð og standist mælifræðilegar kröfur, m.a. um leyfilegt hámarksfrávik og merkingar.
Gerðarviðurkenning: (EBE-gerðarviðurkenning) Gerðarviðurkenning byggir á ítarlegri gerðarprófun, þar sem prófað hefur verið eftir kröfum viðeigandi tilskipana/reglugerða, eða annarra kröfuskjala. Gerðarviðurkenning er forsenda frumsannprófunar og markaðssetningar eftir öðrum leiðum.
Mælikerfi: Mælikerfi samanstendur af mælitækinu sjálfu, viðbótarbúnaði og öllum búnaði sem notaður er til að stuðla að réttri mælingu eða auðvelda notkun mælitækisins og öllum öðrum búnaði sem snert getur mælinguna á einhvern hugsanlegan hátt.
Rennslismælir fyrir vökva: Tæki sem samanstendur eingöngu af mælibúnaði og álestrarbúnaði. Að jafnaði er það hluti af mælikerfi.
Viðbótarbúnaður: Tæki sem er ekki sjálfstætt mælitæki, en er notað til að:
- halda mælistærð eða áhrifastærð á hentugu sviði
- varðveita eða birta mæliniðurstöður á mismunandi formi
- auðvelda mæliaðgerðir
- breyta næmni eða mælisviði mælitækis.
Fjallað er um viðbótarbúnað í sér reglugerð.
Markaðssetning og notkun.
Mælikerfi með rennslismælum fyrir vökva aðra en vatn sem uppfylla ákvæði reglugerðar þessarar mega fá EBE - merki og -tákn eins og er lýst í viðaukanum við reglugerðina. Þau skulu fá EBE-gerðarviðurkenningu, ef þess er krafist í ákvæðum viðaukans. Hann skal lagður fram til EBE-frumsannprófunar um leið og þeir mælar sem hann tengist. Í samræmi við skilyrði sem eru sett í viðaukanum er einnig hægt að veita íhlutum og fylgihlutum mælikerfisins EBE- gerðarviðurkenningu.
Óheimilt er, vegna mælifræðilegra eiginleika, að hindra, banna eða takmarka markaðssetningu eða notkun á mælikerfum með rennslismælum fyrir vökva aðra en vatn ef þau bera merki um EBE -gerðarviðurkenningu og EBE - frumsannprófun. Mælikerfi með rennslismælum fyrir vökva aðra en vatn sem tengist mælikerfi sem notað er við sölu á vökvum öðrum en vatni og fellur undir lög um mál, vog og faggildingu nr. 100/1992, skal löggilt af þar til bærum aðila, eins og við á.
og við á
Gildistaka.
Reglugerð þessi er sett með heimild í lögum um vog, mál og faggildingu nr. 100/1992 og með hliðsjón af ákvæði samningsins um Evrópska efnahagssvæðið, sem vísað er til í 21. tölul. IX. kafla II. viðauka, tilskipun 77/313/EBE ásamt síðari breytingum um samræmingu laga aðildarríkjanna varðandi mælikerfi fyrir vökva aðra en vatn, með þeim breytingum og viðbótum sem leiðir af bókun 1, II. viðauka við samninginn og öðrum ákvæðum hans.
Reglugerð þessi öðlast þegar gildi.
F. h. r.
Þorkell Helgason.
1. ALMENN ÁKVÆÐI UM MÆLIKERFI
1.1. Skilgreiningar.
1.1.1. Mælikerfi.
Mælikerfi fyrir vökva aðra en vatn er, auk sjálfs mælisins, sem skal vera í samræmi við reglugerð um rennslismæla fyrir vökva aðra en vatn, og aukabúnaðar sem hægt er að tengja við hann og á að vera í samræmi við reglugerð um viðbótarbúnað með rennslismælum fyrir vökva aðra en vatn, allur búnaður sem hafa þarf til að tryggja réttar mælingar eða til að auðvelda vinnu við mælingar, svo og allur annar búnaður sem á einhvern hátt getur haft áhrif á þær.
Ef fleiri mælar en einn, ætlaðir til mismunandi mælinga, eru tengdir við íhluta sem koma að sameiginlegum notum við vinnslu skal hver mælir, ásamt þessum sameiginlegu íhlutum, teljast mælikerfi.
Ef fleiri mælar en einn eru ætlaðir fyrir sömu mælingavinnu teljast þeir vera eitt mælikerfi.
1.1.2. Lágmarkssölumagn.
Lágmarkssölumagn mælikerfa er ákvarðað í samræmi við reglugerðir um rennslismæla fyrir vökva aðra en vatn og viðbótarbúnað með rennslismælum fyrir vökva aðra en vatn að teknu tilliti til ákvæða þessarar reglugerðar.
Í mælikerfum sem eru ætluð til mælinga á vökva sem streymir inn í þau kallast minnsta magn vökva sem heimilað er að mæla lágmarksrennsli. Áðurnefnd ákvörðun varðandi lágmarkssölumagn gildir á sama hátt um lágmarksrennsli.
1.1.3. Loftskilja.
Loftskilja er tæki sem er gert til að aðskilja og fjarlægja jafnóðum allt loft eða gas sem kann að vera í vökvanum með þar til gerðum búnaði.
Meginreglan er að lofttæmingarbúnaðurinn sé sjálfvirkur. Þess er þó ekki krafist ef til staðar er vélbúnaður sem stöðvar vökvarennslið sjálfkrafa ef hætta er á að loft eða gas geti komist inn í mælinn. Komi það fyrir má ekki endurtaka mælinguna fyrr en loftið eða gasið hefur verið fjarlægt, annaðhvort sjálfvirkt eða handvirkt.
1.1.4. Afloftunarventill.
Afloftunarventill er tæki, hannað til að draga út loft eða gas í aðrennslisrör mælisins sem safnast hefur í vasa og er aðeins að litlu leyti blandað vökvanum.
Framangreindar kröfur varðandi lofttæmingarbúnað loftskiljunnar gilda einnig um afloftunarventla.
1.1.5: Sérbúinn afloftunarventill.
Sérbúinn afloftunarventill er tæki sem aðskilur jafnóðum, á sama hátt og loftskiljan en við auðveldari mælingar, allt loft eða gas sem er í vökvanum og stöðvar sjálfkrafa rennsli vökvans ef hætta er á að loft eða gas, sem safnast hefur í vasa og er aðeins að litlu leyti blandað vökvanum, komist inn í mælinn.
1.1.6. Þéttihólf.
Þéttihólf er lokað hólf í mælikerfum fyrir fljótandi gas undir þrýstingi og gegnir því hlutverki að taka við lofttegundum í vökvanum sem á að mæla og þétta þær fyrir mælingu.
1.1.7. Gasmælir.
Gasmælir er tæki sem finnur auðveldlega allar loft- eða gasbólur sem kunna að vera í vökvanum.
1.1.8. Sjóngler.
Sjóngler er tæki til að fylgjast með því að allt mælikerfið eða hluti þess sé fyllt vökva.
1.2. Gildissvið.
Almennu kröfurnar í 1. lið gilda um allar gerðir mælikerfa nema annað sé tekið fram í 2. lið.
1.3. Mælar, rennslismörk.
Mælar sem eru innbyggðir í mælikerfi, þar með talinn allur viðbótarbúnaður, skulu hafa EBE-gerðarviðurkenningu til mælingar á þeim vökva sem um ræðir við venjuleg notkunarskilyrði.
Þessir mælar skulu annaðhvort fá sérstaka EBE-gerðarviðurkenningu eða viðurkenningu sem er innifalin í EBE- gerðarviðurkenningu mælikerfisins sem þeir eru hluti af. Rennslismörk (hámarks- og lágmarksrennsli) mælikerfisins geta verið önnur en rennslismörk mæla sem eru notaðir með því. Þegar svo ber undir skal ganga úr skugga um að hámarks- og lágmarksrennsli mælikerfisins samrýmist rennsli mælisins. Í öllum tilvikum, einnig þar sem mælir hefur verið viðurkenndur sem innbyggður íhluti í mælikerfi, verður hann að vera í samræmi við kröfur reglugerðar um rennslismæla fyrir vökva aðra en vatn. Þegar nokkrum mælum er komið fyrir samhliða í einu mælikerfi skal summan af hámarks- og lágmarksrennsli þeirra, að undanskildum sérstökum tilvikum sem mælt er fyrir um í þessum viðauka, lögð til grundvallar þegar rennslismörk mælikerfisins eru ákveðin. Hámarksrennsli mælikerfisins skal vera að minnsta kosti tvöfalt lágmarksrennsli mælisins eða summa af rennsli mælanna sem eru í því.
1.4. Tilfærslupunktur.
1.4.1. Í mælikerfum skal vera staður þar sem magn frárennslis eða innrennslis er afmarkað og kallast hann tilfærslupunktur. Þessi tilfærslupunktur er staðsettur aftan við mælinn í frárennslisbúnaði en framan við hann í innrennslisbúnaði.
1.4.2. Mælikerfi getur verið af tveimur gerðum: búnaður með "tómum slöngum" og búnaður með "fylltum slöngum"; hugtakið slanga getur merkt ósveigjanlegt rör.
1.4.2.1. Búnaður með tómum slöngum er, þegar um er að ræða frárennslisbúnað, búnaður, þar sem tilfærslupunkturinn er framan við frárennslisslönguna. Þessi tilfærslupunktur getur annaðhvort verið sem sjóngler með yfirfalli eða sem lokaður búnaður, í báðum tilvikum tengdur við búnað sem tæmir frárennslisslönguna eftir hverja mælingu.
1.4.2.2. Búnaður með fylltum slöngum er, þegar um er að ræða frárennslisbúnað, mælibúnað þar sem tilfærslupunkturinn er í formi lokunarbúnaðar sem komið er fyrir í frárennslisrörunum. Þegar þetta rör er opið í endann skal lokunarbúnaðinum komið fyrir eins nærri þeim enda og kostur er.
1.4.2.3. Þegar um er að ræða aðstreymisbúnað gilda sömu reglur á sama hátt um aðstreymisrörið framan við mælinn.
1.5. Síur.
Í mælikerfum skal vera búnaður framan við mælana, ætlaður til að safna í sig föstum óhreinindum úr vökvanum (síur). Síunum skal eftir því sem hægt er koma þannig fyrir að auðvelt sé að ná til þeirra.
1.6. Loft- og gaseyðing.
1.6.1. Almenn ákvæði.
Mælikerfi skulu sett upp á þann hátt að loft geti ekki komist að vökvanum eða gasmyndun orðið í honum framan við mælinn. Ef vafi leikur á að hægt sé að uppfylla þessar kröfur skal lofteyðingarbúnaður vera innbyggður í mælikerfi og skal hann geta fjarlægt allar lofttegundir úr vökvanum áður en hann fer gegnum mælinn.
Lofteyðingarbúnaðurinn skal lagaður að aðrennslisaðstæðum og komið fyrir á þann hátt að viðbótarfrávik, sem koma til vegna áhrifa lofts og gastegunda á niðurstöður mælinganna, fari ekki yfir:
- 0,5 % af mældu magni vökva, annarra en drykkjarhæfra vökva, þegar seigja er að hámarki 1 mPa× s,
- 1 % af mældu magni drykkjarhæfra vökva og vökva þar sem seigja er meiri en 1 mPa× s.
Ekki er þó nauðsynlegt að þessi frávik séu minni en 1 % af lágmarkssölumagn.
1.6.2. Aðrennsli með dælingu.
1.6.2.1. Með fyrirvara um lið 1.6.6 skal loftskilja vera til staðar við þær aðstæður þegar þrýstingur getur fallið skyndilega við inntak dælunnar niður fyrir loftþrýsting í andrúmsloftinu eða þrýsting mettaðrar gufu vökvans.
1.6.2.1.1. Loftskiljur sem eru ætlaðar til að nota þar sem hámarksrennsli fer ekki yfir 100 m3/h geta annaðhvort verið háðar sérstakri EBE-gerðarviðurkenningu eða viðurkenningu sem er innifalin í EBE-gerðarviðurkenningu mælibúnaðsins sem þær eru hluti af, svo framarlega sem kveðið er á um viðurkenningu slíks búnaðar í þessum viðauka. Hvað varðar loftskiljur sem eru gerðar fyrir hámarksrennsli yfir 100 m3/h geta þær fengið gerðarviðurkenningu á sama hátt þótt þær séu stærri ef mynstrið er það sama. Loftskiljur sem hafa fengið sérstaka EBE-gerðarviðurkenningu má nota í mælikerfum án gasmæla.
1.6.2.1.2. Loftskilja skal alla jafna vera aftan við dæluna. Hún má þó vera samtengd dælunni.
Undir öllum kringumstæðum skal hún vera staðsett svo nálægt mælinum að þrýstingstap af völdum vökvarennslisins milli þessara tveggja íhluta sé óverulegt.
1.6.2.1.3. Vinnslumörk loftskiljunnar skulu vera sem hér segir:
a) hámarksrennsli eins eða fleiri tiltekinna vökva;
b) hámarks- og lágmarksþrýstingsmörk sem samrýmast réttri vinnslu lofteyðingarbúnaðarins.
1.6.2.1.4. Þegar loftskilja, gerð fyrir hámarksrennsli sem fer ekki yfir 100 m3/h., er háð sérstakri EBE- gerðarviðurkenningu skal hún, innan frávikamarkanna sem mælt er fyrir um í 1.6.1, tryggja eyðingu loft- eða gastegunda í vökvanum sem á að mæla við eftirfarandi prófunarskilyrði:
a) mælikerfið skal starfa við hámarksrennsli og lágmarksþrýstinginn sem kveðið er á um fyrir loftskiljuna;
b) heimilt er að hafa hlutfall loft- eða gastegunda á móti vökva breytilegt ef loftskiljan er hönnuð fyrir rennsli sem er að hámarki 20 m3/h eða lægra; það skal takmarkast við 30% ef loftskiljan er hönnuð fyrir hámarksrennsli yfir 20 m3/h. (Loft- eða gastegundir skulu mældar við loftþrýsting andrúmsloftsins til að ákvarða hlutfall þeirra.)
Sjálfvirki lofttæmingarbúnaðurinn skal vinna á réttan hátt við hámarksþrýsting sem kveðið er á um fyrir loftskiljur.
1.6.2.1.5. Þegar loftskilja er viðurkennd sem íhluti í viðurkenndu mælikerfi geta kröfurnar í lið 1.6.2.1.4 gilt um hana. Í því tilviki er ekki nauðsynlegt að hafa gasmæli.
Þegar mælikerfi hefur innbyggðan gasmæli í samræmi við skilgreininguna í 1.1.7 skal loftskiljan, með þeim frávikum sem kveðið er á um í 1.6.1, tryggja eyðingu loft- eða gastegunda í vökvanum sem á að mæla með eftirfarandi skilyrðum:
a) mælikerfið skal starfa við hámarksrennsli og lágmarksþrýsting;
b) hlutfall loft- eða gastegunda á móti vökva má ekki fara yfir:
- 20 % þegar um er að ræða vökva aðra en drykkjarhæfa vökva og seigja er að hámarki 1 mPa× s,
- 10 % þegar um er að ræða drykkjarhæfa vökva og aðra vökva þar sem seigja er meiri en 1 mPa× s1).
Þegar hlutfall loft- eða gastegunda á móti vökva fer yfir áðurnefndan hundraðshluta og loftskiljan getur ekki uppfyllt kröfurnar varðandi heimiluð hámarksfrávik skulu gas- eða loftbólur sjást greinilega í gasmælinum.
1.6.2.2. Þegar þrýstingurinn við inntak dælunnar er stöðugt meiri en loftþrýstingur í andrúmsloftinu og þrýstingur mettaðrar gufu vökvans, en engin loftskilja er til staðar, er nauðsynlegt að hafa afloftunarventil eða sérbúinn afloftunarventil ef hætta er á að gasmyndun eigi sér stað á milli dælunnar og mælisins þegar hlé verður á vökvastreymi eða loftvasar myndist í rörunum (t.d. þegar aðrennslistankurinn er alveg tómur) í þeim mæli að frávik af þessum sökum fari yfir 1 % af lágmarkssölumagn.
1.6.2.2.1. Afloftunarventill eða sérbúinn afloftunarventill, ætlaður til notkunar þar sem rennsli fer ekki yfir 100 m3/h., getur annaðhvort verið háður sérstakri EBE-gerðarviðurkenningu eða viðurkenningu sem er innifalin í EBE-gerðarviðurkenningu mælikerfisins sem hann er hluti af, ef ákvæði eru um viðurkenningu kerfisins í þessum viðauka.
Afloftunarventlar sem eru gerðir fyrir meira rennsli en 100 m3/h geta fengið gerðarviðurkenningu á sama hátt þótt þeir séu stærri ef gerðin er sú sama.
Nota má afloftunarventla og sérbúna afloftunarventla sem hafa fengið sérstaka EBE-gerðarviðurkenningu í mælikerfum án gasmæla.
____________________________
1) Reynslan sýnir að rétt smíðuð loftskilja uppfyllir að jafnaði kröfurnar sem um getur í a- og b-lið ef notkunarrúmmál hennar er að minnsta kosti 8% af því rúmmáli sem streymir í gegn á einni mínútu við hámarksrennsli, sem er tilgreint á kennispjaldi mælibúnaðsins.
1.6.2.2.2. Afloftunarventill eða sérbúinn afloftunarventill skal að jafnaði vera aftan við dæluna. Hann má þó vera samtengdur dælunni.
Í báðum tilvikum skal hann að jafnaði staðsettur á hæsta punkti í rörunum, eins nærri mælinum og unnt er og framan við hann. Ef hann er staðsettur neðar en mælirinn skal einstefnuloki, ef þörf krefur með búnaði til að takmarka þrýsting, innbyggður til að koma í veg fyrir að rörin á milli þeirra tæmist.
Ef rörin framan við mælinn liggja hátt á nokkrum stöðum getur þurft að hafa nokkra afloftunarventla.
1.6.2.2.3. Vinnslumörk afloftunarventils eða sérbúins afloftunarventils eru samkvæmt skilgreiningu í 1.6.2.1.3, ásamt því lágmarkssölumagni sem slík tæki eru gerð fyrir.
1.6.2.2.4. Afloftunarventill eða sérbúinn afloftunarventill skal við hámarksrennsli í mælikerfinu geta tæmt gas- eða loftvasa, mælda við loftþrýsting andrúmsloftsins, í að minnsta kosti lágmarksmagni, án þess að viðbótarfrávik verði meiri en sem svarar 1 % af því. Enn fremur skal sérbúinn afloftunarventill að staðaldri geta skilið frá það loft- eða gasmagn sem svarar til 5% af vökvamagninu við hámarksrennsli án þess að viðbótarfrávik vegna þess fari yfir mörkin sem eru sett í 1.6.1.
1.6.2.3. Kröfurnar í 1.6.2.1 og 1.6.2.2 koma ekki í veg fyrir að hægt sé að nota handvirkan eða sjálfvirkan afloftunarbúnað þegar um er að ræða föst, umfangsmikil kerfi.
1.6.2.4. Ef aðrennsli vökvans er hagað þannig, hvernig sem notkunarskilyrðin eru, að ekkert loft eða gas geti myndast eða komist inn í aðstreymisrörin framan við mælinn meðan á mælingu stendur, er ekki nauðsynlegt að hafa lofteyðingarbúnað, að því tilskildu að sú loftmyndun sem líklegt er að verði þegar hlé verður á rennsli valdi ekki meiri frávikum en 1% af lágmarkssölumagn.
1.6.3. Rennsli án dælingar.
1.6.3.1. Þegar sjálfstreymi er að mælinum, án þess að dæla sé notuð og sé þrýstingur á vökvanum í öllum hlutum röranna framan við mælinn og á mælinum sjálfum meiri en þrýstingur mettaðrar gufu og þrýstingur andrúmsloftsins, er ekki nauðsynlegt að hafa lofteyðingarbúnað. Eftir að mælikerfið hefur verið sett í gang er þó krafist búnaðar sem heldur því fylltu á réttan hátt.
1.6.3.2. Ef líkur eru á að þrýstingur vökvans verði minni en þrýstingur í andrúmsloftinu en þó meiri en þrýstingur mettaðrar gufu skal koma í veg fyrir, með þar til gerðum búnaði, að loft geti komist inn í mælinn.
1.6.3.3. Þegar rennsli að mælinum er knúið með loftþrýstingi skal þar til gerður búnaður koma í veg fyrir að loft komist inn í mælinn.
1.6.3.4. Undir öllum kringumstæðum skal þrýstingur vökvans milli mælisins og tilfærslupunktsins vera hærri en þrýstingur mettaðrar gufu vökvans.
1.6.4. Loftlosun.
Í röri lofteyðingarbúnaðar má ekki vera handstýrður loki ef lofteyðing stöðvast um leið og honum er lokað. Ef lokunarbúnaðar af þessu tagi er samt sem áður krafist af öryggisástæðum skal vera hægt að tryggja að hann haldist opinn með búnaði sem heldur honum í þeirri stöðu.
1.6.5. Búnaður sem kemur í veg fyrir hringiðu.
Ef almenna reglan er að birgðatankur mælikerfis sé alveg tæmdur skal vera búnaður á afrennslisopi tanksins sem kemur í veg fyrir hringiðu, nema þar sem loftskilja er innbyggð í kerfið.
1.6.6. Seigfljótandi vökvar.
Þar sem virkni loftskilja og afloftunarventla minnkar með aukinni seigju í vökvanum er ekki nauðsynlegt að hafa þann búnað þegar um er að ræða vökva með hreyfiseigju yfir 20 mPa##s við 20° C. Dælunni skal komið fyrir á þann hátt að inntaksþrýstingurinn sé alltaf hærri en þrýstingur í andrúmsloftinu. Ef vafi leikur á að hægt sé að uppfylla þessi skilyrði í öllum tilvikum skal setja upp búnað sem stöðvar rennsli vökvans sjálfkrafa um leið og inntaksþrýstingurinn fellur niður fyrir þrýsting andrúmsloftsins. Nota skal þrýstimæli til að fylgjast með þessum þrýstingi. Ekki er nauðsynlegt að uppfylla þessi skilyrði þegar í mælikerfinu er búnaður sem tryggir að loft geti ekki komist inn um samskeyti í þeim hluta röralagnanna þar sem undirþrýstingur er.
Þegar mælikerfið er ekki í notkun skal rörunum haldið fylltum vökva upp að tilfærslupunktinum.
1.7. Gasmælir.
1.7.1. Í mælikerfum geta verið gasmælar til að finna gas. Slíkur búnaður kann að vera lögboðinn í tilvikum sem fjallað er um í lið 2.
1.7.2. Gasmælirinn skal hannaður á þann hátt að viðhlítandi upplýsingar fáist um gas eða loft í vökvanum.
1.7.3. Gasmælirinn skal staðsettur aftan við mælinn.
1.7.4. Í mælikerfum með tómum slöngum getur gasmælirinn verið sjóngler með yfirfalli og um leið verið tilfærslupunktur.
1.7.5. Gasmælirinn getur verið með loftventli eða öðrum afloftunarbúnaði þegar hann er staðsettur hátt í rörunum. Ekkert rör má vera tengt við loftventilinn. Mælar sem gera rennslið sýnilegt (t.d. skrúfukeilur) geta verið innbyggðir í gasmælinn að því tilskildu að slíkur búnaður komi ekki í veg fyrir að gasmyndum, sem kann að vera til staðar í vökvanum, sjáist.
1.8. Áfylling mælikerfis.
1.8.1. Mælirinn og rörin sem liggja frá mælinum að tilfærslupunktinum skulu sjálfkrafa haldast vökvafyllt á meðan mæling stendur yfir og einnig þegar kerfið er ekki í notkun.
Ef þetta skilyrði er ekki uppfyllt, einkum þegar um er að ræða varanlega uppsetningu, skal vera hægt að fylla mælikerfið handvirkt alveg upp að tilfærslupunktinum og halda því þannig á meðan mælt er og einnig þegar kerfið er ekki í notkun. Til að tryggja fullkomna loft- og gaseyðingu úr mælikerfinu skal hafa losunarbúnað, ef unnt er með litlum sjónglerjum á réttum stöðum.
1.8.2. Almennt gildir að breytilegt hitastig í rörum milli mælisins og tilfærslupunktsins má ekki valda viðbótarfrávikum yfir 1 % af lágmarkssölumagni.
Í 2. lið eru tilgreindar þær tæknilegu kröfur sem verður að uppfylla í sérstökum tilvikum til að skilyrðum þessum sé fullnægt.
1.8.3. Ef þörf krefur skal búnaður sem viðheldur þrýstingi vera aftan við mælinn til að tryggja að þrýstingur á lofteyðingarbúnaðinum og mælinum sé alltaf hærri en þrýstingur andrúmsloftsins og þrýstingur mettaðrar gufu í vökvanum.
1.8.4. Mælikerfi þar sem hugsanlegt er að vökvinn geti streymt í öfuga átt við venjulegt rennsli, þegar dælan hefur stöðvast, skulu búin einstefnuloka með búnaði til að takmarka þrýsting ef þörf krefur.
1.8.5. Í mælikerfum með tómum slöngum skal vera staður þar sem rörin aftan við mælinn, og ef þörf krefur rörin framan við mælinn, liggja svo hátt að allir hlutar mælikerfisins haldist stöðugt, fylltir. Tæming afhendingarslöngunnar sem um getur í 1.4.2.1 skal tryggð með loftventli. Í sumum tilvikum getur sérstakur búnaður komið í stað þessa loftventils, eins og t.d. aukadæla eða þrýstiloftsdæla. Í mælikerfum sem eru gerð fyrir lágmarkssölumagn innan við 10 m##3 skal slíkur búnaður vera sjálfvirkur.
1.8.6. Í mælikerfum með fylltum slöngum skal vera búnaður á lausa enda slöngunnar sem tryggir að slangan geti ekki tæmst þegar ekki er verið að nota kerfið. Þetta gildir ekki um fljótandi gas. Þegar lokunarbúnaði er komið fyrir framan við þennan búnað, skal rýmið þar á milli vera eins lítið og unnt er og í öllum tilvikum minna en heimiluð hámarksfrávik fyrir lágmarkssölumagn mælikerfisins.
Þegar um er að ræða búnað sem er ætlað til að mæla seigfljótandi vökva skal stúturinn á því hannaður á þann hátt að hann geti ekki haldið eftir meira vökvamagni en sem nemur 0,4 sinnum heimiluðum hámarksfrávikum fyrir lágmarkssölumagn mælikerfisins.
1.8.7. Ef slangan er samsett úr mörgum hlutum skal setja þá saman annaðhvort með sérstöku tengi sem heldur slöngunni fylltri eða með tengibúnaði sem er annaðhvort innsiglaður eða lokaður með búnaði sem aðeins er hægt að rjúfa með sérstökum verkfærum.
1.9. Breytilegt innanmál í fylltum slöngum,
Í fylltum slöngum í mælikerfi þar sem notuð er tromla má aukning á innanmáli frá því að slangan er uppvafin og ekki undir þrýstingi og til þess er slangan hefur verið undin af, er undir þrýstingi og án þess að rennsli sé um hana, ekki vera meiri en tvöföld heimiluð hámarksfrávik fyrir lágmarkssölumagn.
Ef ekki er notuð tromla í mælikerfinu má aukning innanmáls ekki fara yfir heimiluð hámarksfrávik lágmarkssölumagns.
1.10. Greinar.
1.10.1. Í mælikerfum með vökvafrárennsli er eingöngu leyft að hafa rör sem greinast aftan við mælinn ef þeim er þannig komið fyrir að vökvinn fari aðeins út um eitt úttak í einu. Í mælikerfum þar sem mæling fer fram við vökvaaðstreymi er eingöngu leyft að hafa rör sem greinast framan við mælinn ef þeim er þannig komið fyrir að vökvinn fari aðeins inn um eitt rör í einu.
Einungis má víkja frá þessum kröfum þegar um er að ræða frárennslis- og aðstreymisbúnað sem eru sett upp á þann hátt að þau þjóna aðeins einum notanda eða birgi í einu.
1.10.2. Mælikerfi sem eru annaðhvort með tómum slöngum eða fylltum slöngum ásamt sveigjanlegum rörum, skulu ef þörf krefur, hafa innbyggðan einstefnuloka í fasta rörinu sem liggur að fylltu slöngunni fast aftan við stillilokann. Stillilokinn má ekki, hver sem staða hans er, valda því að tenging verði milli losunarslöngunnar, sem er tóm meðan kerfið starfar, og röranna sem liggja að fylltu slöngunni.
1.11. Hjárásir.
Allar tengingar til að tengja framhjá mælinum skulu lokaðar með blindflönsum. Ef vinnsla mælisins krefst þess hins vegar að slíkar hjárásir séu notaðar verður að vera hægt að loka þeim, annaðhvort með blindloku eða með tvöföldum lokunarbúnaði með öryggisloka á milli. Hægt á að vera að innsigla lokunarbúnaðinn til frekara öryggis.
1.12. Lokar og stjórnbúnaður.
1.12.1. Ef aðrennsli er með þeim hætti að álag á mælinn geti orðið of mikið skal hafa innbyggðan búnað sem takmarkar rennsli. Þessi búnaður skal staðsettur aftan við mælinn ef hann veldur þrýstingstapi. Hægt á að vera að innsigla hann.
1.12.2. Mismunandi stillingar stjórntækja fyrir margstefnuloka skulu sjást vel og hafa viðnám sem geta verið skorur, hnúðar eða aðrar festingar. Víkja má frá þessum kröfum þegar bilið milli tveggja stillinga stjórntækjanna myndar 90° horn eða meira.
1.12.3. Einstefnulokar og lokunarbúnaður sem stuðlar ekki að því að afmarka mælt vökvamagn skulu, ef þörf krefur, vera útbúnir með loka sem jafnar þrýsting ef hann verður of mikill í mælikerfinu.
1.13. Uppsetning mælibúnaðar.
Mælikerfi skulu sett upp á þann hátt að álestrarbúnaðurinn sjáist greinilega við venjuleg notkunarskilyrði. Álestrarbúnaðurinn og loftmælir loftskiljunnar, ef hann er fyrir hendi, skal ef unnt er sjást frá sama stað. Auðvelt á að vera að komast að innsiglisbúnaði, plötur skulu þannig festar að ekki sé hægt að taka þær af og löggiltar merkingar skulu vera skýrar, læsilegar og varanlegar.
1.14. Sannprófun á notkunarstað.
Uppsetning skal vera með þeim hætti að sannprófun sem kveðið er á um í 3.2 sé framkvæm
Uppsetning skal vera með þeim hætti að sannprófun sem kveðið er á um í 3.2 sé framkvæmanleg. Ef þörf krefur skal hafa rör sem skilar vökvanum í geymslutank að lokinni mælingu. Í kerfinu skulu vera hita- og þrýstimælar ef þess gerist þörf, einkum ef vitneskja um þessa þætti er nauðsynleg vegna vinnslu eða prófunar mælikerfisins.
1.15. Eiginleikar mælikerfis.
Eiginleikar mælikerfis eru þessir:
- hámarks- og lágmarksrennsli,
- hámarksvinnuþrýstingur,
- lágmarksvinnuþrýstingur, ef þörf krefur,
- vökvinn eða vökvarnir sem mæla á, svo og seigjumörk, hreyfilýsingar- eða hreyfifræðileg, ef upplýsingar um eðli vökvanna nægja ekki einar til að ákvarða seigju þeirra,
- lágmarksrennsli,
- hitamörk ef hægt er að mæla vökva sem er kaldari en -10° C eða heitari en + 50° C.
1.16. Merkingar.
Á mælikerfum, íhlutum eða fylgihlutum sem hafa fengið gerðarviðurkenningu skulu vera eftirfarandi merkingar með læsilegum og varanlegum stöfum, annaðhvort á skjá álestrarbúnaðarins eða á sérstakri upplýsingaplötu:
a) merki um EBE-gerðarviðurkenningu;
b) auðkenni eða nafn framleiðanda;
c) merkingu framleiðanda, ef einhver er;
d) raðnúmer og framleiðsluár;
e) eiginleika mælikerfisins samkvæmt skilgreiningu í 1.15;
f) allar viðbótarupplýsingar sem koma fram í gerðarviðurkenningarvottorðinu.
Ef margir mælar vinna saman í einu kerfi ásamt sameiginlegum íhlutum má hafa allar tilskildar merkingar fyrir hvern hluta kerfisins saman á einni plötu.
Merkingar á álestrarbúnaði mælis sem er hluti af mælikerfinu mega ekki stangast á við þær sem koma fram á kennispjaldi mælikerfisins.
Ef hægt er að flytja mælikerfið án þess að taka það í sundur mega merkingar hvers hluta einnig vera saman á einni plötu.
1.17. Innsigli.
Æskilegt er að innsigla með stimpluðu blýi. Þó eru sérstök innsigli sem sett eru með töng leyfð þegar brothætt tæki eiga í hlut og þar sem slík innsigli eru svo vel varin að þau geta ekki brotnað fyrir slysni.
Í öllum tilvikum skal vera auðvelt að komast að innsiglum.
Setja skal innsiglisbúnað á alla hluta mælibúnaðar sem ekki er hægt að verja á annan hátt gegn aðgerðum sem kynnu að hafa áhrif á nákvæmni mælinganna. Þó þarf ekki að innsigla tengingar sem aðeins er hægt að taka í sundur með verkfærum.
Innsiglisbúnaður skal hannaður á þann hátt að hægt sé að festa þar merkið um EBE-frumsannprófun að hluta.
Hægt á að vera að festa stimpilplötuna sem um getur í lið 3.3.2.1 í II. viðauka við reglugerð um mælitæki og aðferðir við mælifræðilegt eftirlit, með innsigli við þann eða þá hluti sem mælikerfið er fest á. Hana má sameina kennispjaldi mælikerfisins sem um getur í 1.16.
Þegar um er að ræða mælikerfi, ætluð fyrir drykkjarhæfa vökva, skulu innsigli ekki notuð, til að hægt sé að taka kerfið í sundur og hreinsa það.
2. SÉRÁKVÆÐI UM AÐRAR GERÐIR AF MÆLIKERFUM
2.1. Mælikerfi fyrir fljótandi eldsneyti'
2.1.1. Mælikerfi fyrir fljótandi eldsneyti eru kerfi sem eru ætluð til áfyllingar eldsneytis í eldsneytistanka ökutækja.
Mælikerfi sem eru notuð við áfyllingu eldsneytis á skemmtibáta og litlar flugvélar teljast til mælikerfa fyrir fljótandi eldsneyti.
Þessi kerfi geta haft sinn eiginn aðrennslisbúnað eða þau eru gerð til að vera hluti af stærra aðrennsliskerfi.
Hlutfallið milli hámarks- og lágmarksrennslis þessara kerfa skal vera að minnsta kosti 10 : 1.
2.1.2. Þegar mælikerfið hefur eigin aðrennslisbúnað skal, ef unnt er, koma fyrir loftskilju rétt framan við inntakið í mælinn.
Þessi loftskilja skal uppfylla kröfurnar í 1.6.2.1.4 eða 1.6.2.1.52).
Í síðarnefnda tilvikinu er loftventillinn sem um getur í 1.7.5. ekki leyfður.
_______________________
1) Nánari ákvæðum verður síðar bætt við varðandi mælikerfi fyrir fljótandi eldsneyti að því er varðar:
- mæla til að blanda eldsneyti,
- mæla til að blanda eldsneyti og olíur,
- rafmagns- eða rafeindatæki og aukabúnað,
- sjálfsala, og
- mælitæki ætluð fyrir birgðabúnað með fljótandi gasi.
2) Reynslan sýnir að loftskilja sem er í samræmi við lið 1.6.2.1.5 uppfyllir að jafnaði kröfurnar ef virkt rúmmál hennar er að minnsta kosti 5% af því rúmmáli sem streymir í gegn á einni mínútu við hámarksrennsli, sem er tilgreint á kennispjaldi mælibúnaðsins.
2.1.3. Þegar mælikerfi er gert til vera hluti af stærra aðrennsliskerfi eða fjarveitu, gilda almennu reglurnar í 1.6.
2.1.4. Mælikerfi fyrir fljótandi eldsneyti skulu hafa búnað sem gerir kleift að stilla magnálesturinn á núll í samræmi við 1.1, 1.2, 1.3 og 1.5 í viðauka reglugerðar um viðbótarbúnað með rennslismælum fyrir vökva aðra en vatn og einnig búnað til að mæla heildarmagn.
Ef búnaðurinn er einnig með verðmæli skal fylgja búnaður til að endurstilla álesturinn á núll.
Búnaður til að endurstilla verð- og magnálestur á núll skal innbyggður á þann hátt að núllstilling annars hvors leiði sjálfkrafa til núllstillingar hins.
2.1.5. Þegar mælikerfið fyrir fljótandi eldsneyti hefur eigin aðrennslisbúnað sem er knúið með rafhreyfli skal fylgja því búnaður sem kemur í veg fyrir frekara rennsli vökvans, eftir að hreyfillinn hefur stöðvast, þar til mælirinn hefur verið endurstilltur á núll.
Undir engum kringumstæðum má vera hægt að stilla á núll á meðan frárennsli stendur yfir.
2.1.6. Einstefnulokinn sem um getur í 1.8.4 er lögboðinn. Hann á að vera staðsettur á milli lofteyðingarbúnaðarins og mælisins. Þó má hafa hann rétt aftan við mælinn ef lofteyðingarbúnaðurinn er staðsettur hærra en mælirinn. Í því tilviki má samtengja hann búnaðinum sem um getur í lið 1.8.3. Þegar einstefnulokanum er komið fyrir milli lofteyðingarbúnaðarins og mælisins verður þrýstingstapið sem af því leiðir að vera svo lítið að það teljist ekki skipta máli.
2.1.7. Slöngur í mælikerfum með fylltum slöngum skulu hafa handvirkan lokunarbúnað sem uppfyllir kröfurnar í lið 1.8.6. Einnig má hafa sjálfvirkan lokunarbúnað.
Mælikerfi með fylltum slöngum sem fá eingöngu aðrennsli með handvirkum dælum þurfa aðeins að hafa lokunarbúnaðinn sem um getur í 1.8.6.
2.1.8. Í mælikerfum þar sem hámarksrennsli er 60 lítrar á mínútu eða minna skal lágmarksrennsli ekki vera meira en fimm lítrar.
2.1.9. Þegar mælirinn er útbúinn með miðaprentara skal prenttækið vera tengt við búnaðinn sem endurstillir magnálesturinn á núll. Með hjálp þessa búnaðar skal vera hægt að bera saman álesturinn og það sem stendur á miðanum eftir prentun.
2.1.10. Í samræmi við 3.2 skal frumsannprófun mælikerfis fyrir fljótandi eldsneyti framkvæmd í einu eða tveimur þrepum eftir því hvort þau hafa eigin aðrennslisbúnað eða ekki.
2.2. Mælikerfi í tankbifreiðum, ætluðum til flutnings og afhendingar á vökva með lítilli seigju (seigja £ 20 mPa× s) sem er geymdur við loftþrýsting andrúmsloftsins, að undanskildum drykkjarhæfum vökvum.
2.2.1. Kröfurnar í 2.2. gilda um mælikerfi sem eru sett upp í tankbifreiðum og tönkum sem notaðir eru í flutningum.
Þegar mælikerfi eru í tankbifreiðum með fleiri en einu hólfi skal lokunarbúnaður vera á hverju hólfi um sig (handvirkur eða sjálfvirkur).
2.2.2. Í samræmi við innlendar notkunarreglur, ef einhverjar eru, skal hvert mælikerfi notað fyrir ákveðna framleiðsluvöru eða framleiðsluflokk sem er tilgreindur í EBE-gerðarviðurkenningu viðkomandi mælis.
Rör skulu hönnuð á þann hátt að auðvelt sé að fyrirbyggja blöndun framleiðsluvara í mælikerfinu.
2.2.3. Þegar tönkum er komið fyrir á eftirvögnum eða festivögnum geta mælikerfin annaðhvort verið á dráttartækinu eða eftirvagninum/festivagninum.
2.2.4. Mælikerfi í tankbifreið getur verið með tómum slöngum eða með fylltum slöngum. Einnig er hægt að hafa í því eina tóma slöngu og eina fulla eða tvær fullar slöngur af mismunandi stærð sem settar eru upp á þann hátt að þær starfi til skiptis.
Ekki skal vera hægt að skipta um stillingu meðan á mælingu stendur.
2.2.5. Þegar mælirinn er útbúinn með miðaprentara skal prentunin tengd við búnaðinn sem endurstillir magnálesturinn á núll.
2.2.6. Mælikerfi í tankbifreið getur verið hannað til að starfa eingöngu með dælu, eingöngu með sjálfstreymi, annaðhvort með dælu eða sjálfstreymi eða með þrýstilofti.
2.2.6.1. Mælikerfi sem hafa aðeins dæluknúið aðrennsli geta starfað með fylltum eða tómum slöngum.
2.2.6.1.1. Ef hætta er á að skilyrðunum í lið 1.6.2.4 verði ekki fullnægt skal lofttæmingarbúnaður vera framan við mælinn, til dæmis:
a) heppileg loftskilja sem uppfyllir kröfurnar í 1.6.2.1.4 eða 1.6.2.1.51);
b) afloftunarventill;
c) sérbúinn afloftunarventill.
Ef þrýstingur við úttak mælikerfisins fellur niður fyrir þrýsting andrúmsloftsins, en helst hærri en þrýstingur mettaðrar gufu í vökvanum sem verið er að mæla, skal tengja búnaðinn við sjálfvirkan útbúnað til að hægja á og stöðva rennslið til að fyrirbyggja að loft geti komist inn í mælinn.
Ef engin hætta er á að þrýstingur falli niður fyrir þrýsting andrúmsloftsins við úttak mælisins (sem einkum á við um kerfi sem starfa eingöngu með fylltum slöngum) þarf ekki að hafa sjálfvirkan búnað til að hægja á og stöðva rennslið.
________________________
1) Reynslan sýnir að loftskilja sem er í samræmi við lið 1.6.2.1.5 uppfyllir að jafnaði kröfurnar ef virkt rúmmál hennar er að minnsta kosti 5% af því rúmmáli sem streymir í gegn á einni mínútu við hámarksrennsli mælisins.
2.2.6.1.2. Sérbúna loftskiljan með sjálfvirkum stöðvunarbúnaði skal útbúin með sjóngleri í samræmi við 1.1.8.
2.2.6.1.3. Hólfin í tankbifreiðum skulu vera með búnaði til að fyrirbyggja hringiðu, nema í mælikerfum sem hafa loftskilju samkvæmt því sem krafist er í 1.6.2.1.4.
2.2.6.2. Mælikerfi sem starfa eingöngu við sjálfstreymi skulu uppfylla eftirfarandi kröfur:
2.2.6.2.1. Búnaðurinn skal hannaður þannig að hægt sé að mæla allt innihald hólfsins eða hólfanna við rennsli sem er jafnt og lágmarksrennsli gegnum mælikerfið eða meira.
2.2.6.2.2. Ef tenging er við loftrýmið í tankinum skal viðeigandi búnaður koma í veg fyrir að loft komist inn í mælinn.
2.2.6.2.3. Í hólfunum í tankinum skal vera með búnaður sem kemur í veg fyrir hringiðu.
2.2.6.2.4. Kröfurnar í 1.6.3.1, 1.6.3.2 og 1.6.3.4 skulu gilda. Nota má hröðunardælu aftan við tilfærslupunktinn ef áðurnefndum skilyrðum er fullnægt. Slík dæla má ekki valda því að þrýstingur í mælinum falli.
2.2.6.2.5. Í sumum mælikerfum, einkum þeim sem hafa sérbúinn afloftunarventil með sjálfvirkum stöðvunarbúnaði og þeim sem hafa innbyggða loftrás út undir bert loft fast aftan við tilfærslupunktinn, er ekki nauðsynlegt að hafa gasmæli.
Þó er skylda að hafa gasmæli í mælikerfum með handstýrðum loftventli fast aftan við tilfærslupunktinn þar sem þrýstingurinn getur ekki farið niður fyrir þrýsting andrúmsloftsins.
2.2.6.3. Mælikerfi sem geta starfað annaðhvort með dælu eða við sjálfstreymi skulu uppfylla kröfurnar í 2.2.6.1 og 2.2.6.2.
2.2.6.4. Mælikerfi sem fá aðrennsli með hjálp þrýstilofts geta verið kerfi með fylltum eða tómum slöngum. Í tengirörunum milli búnaðarins, sem kemur í veg fyrir að gas komist inn í mælinn og fjallað er um í 1.6.3.3, og mælisins sjálfs skulu ekki vera nein höft eða íhlutar sem geta valdið þrýstingstapi sem getur leitt til myndunar loftvasa þegar loft er losað úr vökvanum.
Slík kerfi skulu hafa innbyggðan þrýstimæli sem sýnir þrýstinginn inni í tankinum. Svæðið milli hæsta og lægsta leyfilegs þrýstings skal sýnt á álestrarbúnaði þrýstimælisins.
2.3. Aðstreymismælikerfi, notuð til að afferma tankskip, tankvagna járnbrauta og tankbifreiðar.
2.3.1. Mælikerfi sem eru gerð til að mæla magn vökva sem er losaður úr tankskipum, tankvögnum járnbrauta og tankbifreiðum skulu hafa innbyggðan millitank þar sem vökvaborðið segir til um tilfærslupunktinn.
Þessi millitankur getur verið með búnaði til lofteyðingar.
2.3.1.1. Þegar um er að ræða tankbifreiðar og tankvagna járnbrauta skal millitankurinn sjálfkrafa tryggja fast vökvaborð sem er sýnilegt eða greinanlegt á annan hátt við upphaf og lok mælingarinnar. Leyfilegar sveiflur á föstu vökvaborði skulu ekki vera meiri en heimiluð hámarksfrávik fyrir lágmarksaðstreymi.
2.3.1.2. Þegar um er að ræða tankskip er ekki nauðsynlegt að fastsetja sjálfvirka stillingu vökvaborðs; ef það er ekki gert skulu breytingar á innihaldi tanksins vera mælanlegar.
Ef tankskipið er losað með dælum sem eru á botni skipsins þarf ekki að nota millitankinn nema við upphaf og lok losunarinnar.
2.3.1.3. Í tilvikunum tveimur sem um getur í 2.3.1.1 og 2.3.1.2 skal millitankurinn hafa það þversnið sem þarf til að vökvamagn, jafnt heimiluðum hámarksfrávikum fyrir lágmarksaðstreymi, svari til að minnsta kosti 2 mm munar á yfirborði.
2.4. Mælikerfi, staðbundin eða í tankbifreiðum, til mælinga á fljótandi gasi (að undanskildum lághitavökvum).
2.4.1. Fastar röralagnir með ósveigjanlegum rörum skulu vera milli þessara mælikerfa og aðrennslistanka þeirra. Hafa verður einstefnuloka milli aðrennslistanksins og mælisins.
2.4.2. Búnaður til að halda jöfnum þrýstingi, staðsettur aftan við mælinn, skal tryggja að framleiðsluvaran sé í vökvalíki inni í mælinum meðan á mælingu stendur. Hægt er að halda tilskildum þrýstingi annaðhvort við fast gildi eða gildi sem er lagað að mælingarskilyrðum.
2.4.2.1. Ef þrýstingnum er haldið við fast gildi skal gildið vera að minnsta kosti jafnt gufuþrýstingi framleiðslunnar við 15° C hærra hitastig en hæsta mögulega hitastig við notkun. Hægt á að vera að innsigla stillingar þrýstingsbúnaðarins.
2.4.2.2. Ef þrýstingurinn er lagaður að mælingarskilyrðum skal hann vera að minnsta kosti 100 kPa (1 bar) umfram gufuþrýsting vökvans meðan á mælingu stendur. Þetta á að gerast sjálfvirkt.
2.4.2.3. Þegar um er að ræða staðbundin mælikerfi til iðnaðarnota skal lögbær mælifræðistofa heimila notkun handstillanlegs búnaðar til að jafna þrýsting. Í því tilviki skal þrýstingur við úttak mælisins ekki vera minni en gufuþrýstingur framleiðsluvörunnar við 15° C hærra hitastig en hitastig vökvans við mælingu. Skýringarmynd skal fest á mælikerfið til að sýna gufuþrýsting framleiðsluvörunnar sem fall af hitastigi hennar. Ef talið er að þessi mælikerfi verði látin vinna eftirlitslaust í langan tíma skal skráningarbúnaður stöðugt skrá hitastig og þrýsting.
2.4.3. Setja skal upp lofteyðingarbúnað framan við mælinn, annaðhvort loftskilju eða þéttihólf.
2.4.3.1. Loftskiljan skal uppfylla almennu kröfurnar sem mælt er fyrir um í 1. lið, annaðhvort fyrir fljótandi gas eða vökva með meiri seigju.
Vegna vandkvæða við sannprófun er þó leyft að viðurkenna loftskilju ef eiginlegt vinnslumagn hennar er ekki minna en 1,5% af því magni sem fer í gegn á einni mínútu við hámarksrennsli og rörið sem tengir mælinn við aðrennslistankinn er ekki lengra en 25 m. Ef rörið er lengra skal vinnslumagn loftskiljunnar ekki vera minna en 3% af því magni sem fer í gegn á mínútu við hámarksrennsli.
Ekki er nauðsynlegt að hafa gasmæli eða sjóngler í mælikerfum fyrir fljótandi gas.
Gastæmingarrörið má tengja við loftrými aðrennslistanksins eða við sjálfstæðan búnað sem stjórnar þrýstingi og er stilltur á þrýsting sem er 50 til 100 kPa (0,5 til 1 bar) neðan við þrýstinginn við úttak mælisins. Í þessu röri má hafa loka en ekki má vera hægt að loka honum meðan á mælingu stendur.
2.4.3.2. Rúmtak þéttihólfsins er háð rúmtaki röranna sem liggja milli loka aðrennslistanksins og þrýstingslokans aftan við mælinn. Það skal nema að minnsta kosti tvöfaldri þeirri rúmtaksminnkun vökvans sem orðið getur ef hitastigið fellur, venjulega er miðað við 10° C fyrir rör sem loft leikur um en 2° C fyrir rör, grafin í jörð eða hitaeinangruð. Til að meta rúmtakið skulu í stað nákvæmra gilda notaðir hitaþenslustuðlarnir 3× 10-3 á hverja gráðu Celsíus fyrir própan og própýlen og 2× 10-3 á hverja gráðu Celsíus fyrir bútan og bútadíen. Fyrir önnur efni með hærri gufuþrýstingi skulu gildi stuðulsins sem er notaður ákveðin af lögbærri mælifræðistofu.
Þéttihólfið skal vera með handstýrðum loftventli.
Í mælibúnað skal þéttihólfinu komið fyrir á þeim stað í rörinu sem liggur hæst.
Reiknað rúmtak samkvæmt áðurnefndri aðferð getur skipst á mörg þéttihólf sem eru staðsett á þeim stöðum sem liggja hæst í rörunum.
2.4.4. Hitamælingahólf skal vera fast við mælinn. Á mælinum sem er notaður skal deilingarbil ekki fara yfir 0,5° C og skal það vera sannprófað.
Þrýstimælir skal vera milli mælisins og þrýstingslokans.
Þegar um er að ræða mælikerfi í tankbifreiðum nægir að hafa þrýstimælistengingu.
2.4.5. Þegar mæling fer fram í mælikerfi sem komið er fyrir í tankbifreið skal engin tenging vera milli loftrýmis aðrennslistanksins og loftrýmis aðstreymistanksins.
2.4.6. Hafa má innbyggða öryggisventla í mælikerfum til að koma í veg fyrir óeðlilega háan þrýsting. Ef þessir lokar eru staðsettir aftan við mælinn skulu þeir opnast út undir bert loft eða vera tengdir við aðstreymistankinn.
Undir engum kringumstæðum má tengja öryggisloka sem eru staðsettir framan við mælinn framhjá honum við loka sem eru staðsettir aftan við mælinn.
2.4.7. Ef vinnuskilyrði eru með þeim hætti að nota þurfi slöngur sem hægt er að losa frá skulu þær haldast fylltar ef rúmtak þeirra er meira en heimiluð hámarksfrávik fyrir lágmarksrennsli.
Fylltar slöngur sem hægt er að losa frá skulu útbúnar með sérstökum "tengjum" sem er samtengingarbúnaður fyrir fylltar slöngur. Handvirkur loftventill skal ef þörf krefur vera fyrir hendi við endann á þessum slöngum.
2.4.8. Af öryggisástæðum verður að vera hægt að loka öryggislokanum í hinum tvöfalda lokunarbúnaði röranna sem eru leidd framhjá mælinum og um getur í 1.11. Þegar þannig háttar til skal þrýstimælir vera milli lokanna tveggja, eða einhver annar sambærilegur búnaður, til að hafa gætur á leka.
2.5. Mælikerfi fyrir mjólk.
2.5.1. Kröfurnar í 2.5 skulu gilda um mælikerfi sem mælir mjólk sem dælt er úr tankbifreiðum yfir í föst aðstreymismælikerfi og um færanleg eða föst frárennslismælikerfi fyrir mjólk.
2.5.2. Í aðstreymiskerfum er tilfærslupunkturinn fast yfirborð í tanki sem er framan við mælinn. Þetta fasta yfirborð skal vera sýnilegt eða greinanlegt fyrir og eftir hverja mælingu og skal sjálfkrafa haldast stöðugt.
2.5.2.1. Þegar aðrennsli að mælinum er knúið af dælu getur tankurinn með fasta yfirborðinu verið framan við dæluna eða milli dælunnar og mælisins.
2.5.2.1.1. Í fyrra tilvikinu getur aðrennslið að þessum tanki orðið með sjálfrennsli, með því að tæma strokka eða með aukadælu eða loftsogi. Ef mjólkin er sett í tankinn með hjálp dælu eða loftsogs er nauðsynlegt að hafa lofteyðingarbúnað; hann má vera samtengdur hylki með föstu vökvaborði.
2.5.2.1.2. Í síðara tilvikinu skal tankurinn með fasta vökvaborðinu gegna hlutverki lofteyðingarbúnaðar.
2.5.2.2. Þrátt fyrir kröfurnar í 1.8.3 getur aðrennsli að mælinum orðið með hjálp loftsogs. Þar eð þrýstingurinn í rörunum milli tanksins með fasta vökvaborðinu og mælisins er í því tilviki lægri en þrýstingur í andrúmsloftinu verða röratengingar að vera algerlega þéttar. Hægt á að vera að hafa eftirlit með því.
2.5.2.3. Í öllum aðstreymiskerfum skulu þau rör sem eru framan við fasta vökvaborðið tæmast sjálfvirkt og fullkomlega við venjuleg vinnsluskilyrði.
2.5.2.4. Eftirlit með vökvaborðinu skal haft með sjóngleri eða yfirborðsmæli. Vökvaborðið telst vera í jafnvægi þegar það liggur kyrrt á bili milli tveggja strika, sem samsvarar að hámarki því magni sem nemur tvöföldum heimiluðum hámarksfrávikum fyrir lágmarksrennsli. Bilið milli strikanna tveggja verður að vera að minnsta kosti 15 mm.
2.5.2.5. Sé búnaður sem hægir á rennsli innbyggður í mælikerfið, til að uppfylla kröfurnar í 2.5.2.4, má rennslið þó ekki fara niður fyrir lágmarksrennsli mælisins þegar sá búnaður er í gangi.
2.5.2.6. Ef vökvi sem er mældur í móttökukerfið er fluttur á lægra þrep skal sjálfvirkur búnaður við úttak mælisins tryggja hærri þrýsting en í andrúmsloftinu.
2.5.3. Mælikerfi sem eru notuð til afhendingar á mjólk skulu uppfylla kröfurnar í 1. lið.
2.5.4. Þrátt fyrir almennu kröfurnar í 1. lið varðandi loft- eða gaseyðingu skal lofteyðingarbúnaðurinn aðeins uppfylla kröfurnar í lið 1.6.1 meðan kerfið er í gangi, þ.e. þegar loft kemst inn við upphaf og lok hverrar mælingar.
Þegar um móttökubúnað er að ræða skal notandinn geta reitt sig á að tengingar séu þéttar svo að ekkert loft geti komist inn framan við mælinn meðan á mælingu stendur. Þegar um frárennslisbúnað er að ræða skal kerfið sett upp á þann hátt að vökvaþrýstingur í tengirörunum sem liggja frá aðrennslistankinum sé alltaf hærri en þrýstingur andrúmsloftsins.
3. EBE-GERÐARVIÐURKENNING OG EBE-FRUMSANNPRÓFUN
3.1. EBE-gerðarviðurkenning.
3.1.1. Eftirfarandi kerfi skulu háð EBE-gerðarviðurkenningu:
- mælikerfi fyrir fljótandi eldsneyti, sem um getur í 2.1. Þegar slík kerfi eru hönnuð fyrir uppsetningu í mið- aðrennslisbúnað skal láta eina eða fleiri skýringarmyndir til leiðbeiningar um uppsetningu á notkunarstaðnum fylgja með vottorði um gerðarviðurkenningu,
- mælikerfi í tankbifreiðum til flutnings og afhendingar vökva með lítilli seigju (seigja £ 20 mPa× s), sem eru geymdir við þrýsting andrúmsloftsins (að undanskildum drykkjarhæfum vökvum) og sem um getur í 2.2,
- mælikerfi í tankbifreiðum fyrir fljótandi gas undir þrýstingi, sem um getur í 2.4,
- mælikerfi fyrir móttöku mjólkur, sem um getur í 2.5.
3.1.2. Prófanir.
3.1.2.1. Við prófanir skal ákvarða vinnustaðla og notkun þeirra á þann hátt að ónákvæmni kvörðunaraðferðarinnar fari ekki yfir einn fimmta af heimiluðum hámarksfrávikum mælikerfisins sem verið er að prófa.
3.1.2.2. Prófun á mæli.
Fyrst er fundin frávikakúrfa sem fall af rennsli út frá nægilega mörgum mælingapunktum milli lágmarks- og hámarksrennslis. Einkum er nauðsynlegt að sannreyna hve mikla breidd frávik mælisins spanna á þessu svæði; staða frávikakúrfunnar gagnvart núlllínunni skiptir minna máli.
Einnig getur verið nauðsynlegt að framkvæma prófanir utan leyfilegra rennslismarka.
Þar að auki skulu prófanir, eftir því sem hægt er, framkvæmdar við vinnslumörk sem eru gefin upp, t.d. við hámarks- og lágmarkshitastig og -seigju og lágmarkssölumagn.
Þegar ekki er um að ræða prófanir á lágmarkssölumagni skal prófunarmagnið haft nægilega mikið til að tryggja að deilingargildi mælisins sé aldrei stærra en einn þriðji af heimiluðum hámarksfrávikum.
Ef mælirinn og aukabúnaður sem honum fylgir hefur þegar fengið EBE-gerðarviðurkenningu skal sannreyna hvort eiginleikar mælisins og mælikerfisins séu í nægilega góðu samræmi við viðurkenninguna. Ef svo er þarf ekki að prófa mælinn frekar, en ákveða verður lágmarkssölumagn mælikerfisins í samræmi við 4.2 í I. kafla viðaukans við reglugerð um rennslismæla fyrir vökva aðra en vatn.
Séu eiginleikar mælisins ekki í samræmi við eiginleika mælikerfisins eða hafi mælirinn (og aukabúnaður með honum) ekki fengið gerðarviðurkenningu skal prófa mælikerfið í heild sinni í samræmi við þessa reglugerð og reglugerðirnar um rennslismæla fyrir vökva aðra en vatn og um viðbótarbúnað með rennslismælum fyrir vökva aðra en vatn.
3.1.2.3. Prófanir vegna loft- eða gaseyðingar.
Prófanirnar verða að leiða það í ljós að loft- eða gaseyðingarbúnaðurinn uppfylli kröfurnar í 1.6.2.1.4, 1.6.2.1.5 og 1.6.2.2.4.
Þar sem loftskiljur og sérbúnir afloftunarventlar eru notuð skal kanna hvort lofteyðing fari fram jafnt og þétt með samanburði við niðurstöður mælinga frá heppilegum rennslismæli sem er settur inn aftan við skiljuna (sérbúna afloftunarventilinn), með og án þess að bæta við lofti eða gasi.
Þegar notaðir eru sérbúnir afloftunarventlar er einnig nauðsynlegt að prófa hvort tankurinn tæmist algerlega. Það skal eftir því sem unnt er gera með vökva sem hentar illa til mælingar. Við prófanir á eftirlíkingum eða sýnishornum með öðrum kvarða en á sjálfum búnaðinum verður að taka tillit til laga um líkingar um seigju (Reynolds), þyngdarkraft (Froude) og yfirborðsspennu (Weber). Að jafnaði eru slíkar líkingarprófanir eingöngu framkvæmdar þegar til þess liggja gild rök.
3.1.2.4. Prófanir á sérbúnum mælikerfum.
3.1.2.4.1. Mælibúnað fyrir fljótandi eldsneyti.
Prófanirnar skulu ná til:
a) athugunar á mælinum, athugunar á aukabúnaði og mats á áhrifum slíks búnaðar (verðálestur, prentbúnaður, forstilling o.s.frv.);
b) athugunar á lofteyðingarbúnaði;
c) athugunar á stöðugleika vökvamagns í slöngunni;
d) sérstakrar athugunar til að sannprófa hreyfingu verðmælisins (ef afhendingarlokanum er lokað snöggt getur hreyfingin orðið óregluleg í fyrsta íhluta mælisins).
3.1.2.4.2. Mælibúnað fyrir fljótandi gas.
Prófunin skal ná til:
a) athugunar á grundvelli teikninga af virknisviði og staðsetningu loftskiljanna;
b) prófunar á virkni lofteyðingarbúnaðarins (búnaður til að halda vökvanum í jafnri hæð), sem getur verið innbyggður í loftskiljuna.
Búnaður til að viðhalda þrýstingi skal einnig athugaður á teikningunni. Skoðunaryfirvald getur í sérstökum tilvikum krafist prófunar á gerðarsýnishorni.
3.2. EBE-frumsannprófun.
3.2.1. Almennt.
3.2.1.1. EBE-frumsannprófun mælibúnaðar má framkvæma í einu eða tveimur þrepum.
3.2.1.1.1. Sannprófunin er framkvæmd í einu þrepi þegar allt kerfið er framleitt af einum framleiðanda, flutt í heilu lagi á notkunarstaðinn og sannprófað við þau skilyrði þar sem því er ætlað að vinna.
3.2.1.1.2. Í öllum öðrum tilvikum er frumsannprófun framkvæmd í tveimur þrepum.
Fyrsta þrepið varðar aðeins sjálfan mælinn eða mælinn ásamt hverjum þeim aukabúnaði sem er tengdur við hann sjálfan eða fylgihluti hans.
Prófanir á fyrsta þrepi er hægt að framkvæma í prófunarbekk (hugsanlega í verksmiðju framleiðandans) eða í uppsettu mælikerfi. Á þessu stigi er hægt að framkvæma mælifræðilegar rannsóknir með vökvum öðrum en þeim sem kerfið er ætlað fyrir.
Annað þrepið nær til mælikerfisins við raunverulegar vinnsluaðstæður. Sú prófun er framkvæmd á staðnum þar sem kerfið hefur verið sett upp, við raunverulegar vinnsluaðstæður og með vökvanum sem kerfið er ætlað fyrir.
Þó er hægt að framkvæma annað þrepið á stað sem er valinn af viðkomandi mælingastofu þegar hægt er að flytja mælikerfið án þess að taka það í sundur og framkvæma prófanirnar við þau skilyrði þar sem mælikerfinu er ætlað að vinna.
3.2.2. Prófanir.
3.2.2.1. Þegar EBE-frumsannprófun er í einu þrepi verður að framkvæma allar prófanirnar sem um getur í 3.2.2.2.
3.2.2.2. Þegar prófanirnar eru í tveimur þrepum:
nær fyrsta þrepið til:
- athugunar á samræmi mælisins, að meðtöldum öllum aukabúnaði (samræmi við viðkomandi gerð),
- mælifræðilegrar rannsóknar á mælinum, að meðtöldum innbyggðum aukabúnaði;
nær annað þrepið til:
- athugunar á samræmi mælikerfisins, að meðtöldum sjálfum mælinum og aukabúnaði með honum,
- mælifræðilegrar rannsóknar á mælinum og aukabúnaði í mælikerfinu,
- prófunar á virkni lofteyðingarbúnaðarins, ef einhver er; þó er ekki nauðsynlegt að kanna hvort heimiluð hámarksfrávik í þessum búnaði, sem kveðið er á um í 1.6, séu eins og þar segir,
- skoðunar á stillingu búnaðar til að halda réttum þrýstingi,
- sannprófunar á breytileika innanmáls í slöngum í kerfi með fylltum slöngum,
- ákvörðunar á því magni sem verður eftir í kerfi með tómum slöngum.
4. MÆLIBÚNAÐUR Í TANKBIFREIÐUM.
4.1. Almenn ákvæði.
Mælikerfi í tankbifreiðum sem um getur í 2.2 og 2.4 geta fengið EBE-gerðarviðurkenningu sem er eingöngu byggð á athugun á skjölum sem lögð eru fram, ef þau samrýmast einhverri af þeim staðalteikningum sem um getur í lið 4.2 og uppfylla eftirfarandi kröfur:
4.1.1. Við merkingarnar sem eru ákveðnar í lið 1.16 skal bæta upplýsingum um staðalteikninguna sem er notuð.
4.1.2. Íhlutar mælikerfisins verða að hafa fengið EBE-gerðarviðurkenningu þegar slíkrar viðurkenningar er krafist í reglugerð um rennslismæla fyrir vökva aðra en vatn, reglugerð um viðbótarbúnað með rennslismælum fyrir vökva aðra en vatn eða í þessari reglugerð.
4.1.3. Ef tankur er í mörgum hólfum má tengja úttaksrörin frá hólfunum við mælikerfi hvert fyrir sig eða í gegnum söfnunarkerfi, nema annað sé ákveðið samkvæmt viðkomandi staðalteikningu. Ákvæði annarrar málsgreinar 2.2.1 gilda í öllum tilvikum.
Þegar mælikerfi er tengt við mörg hólf með söfnunarkerfi verður að hafa búnað til að koma í veg fyrir að mörg hólf geti verið í sambandi við mælinn samtímis. Þessi krafa gildir þó ekki ef mælikerfið hefur loftskilju í samræmi við lið 1.6.2.1.4.
4.1.4. Ef tvö mælikerfi eru í tankbifreið og hægt er að tengja þau við eitt eða fleiri hólf að vild skal rörum og lokum komið fyrir á þann hátt að ekki sé hægt að tengja bæði mælikerfin við sama hólfið í einu. Þar að auki verða tengingarnar milli hólfanna og mælikerfanna að vera greinilega merktar til að fyrirbyggja að hólf sé í misgripum tengt við mælikerfi sem er ekki ætlað til að mæla þann vökva sem í því er.
4.1.5. Ef krafist er búnaðar til að koma í veg fyrir hringiðu er hægt að tengja hann við botnloka hólfsins.
4.1.6. Koma skal röraleiðslum, lokum og krönum milli hólfa og mælikerfis fyrir á þann hátt að ekki sé hægt að tengja mælikerfið við tank utan tankbifreiðarinnar.
4.1.7. Sían sem er venjulega framan við mælinn eða lofttæmingarbúnaðinn getur verið innbyggð í þann síðarnefnda.
4.1.8. Búnað til losunar framhjá mælinum skal vera hægt að innsigla svo að hægt sé að mæta kröfum einstakra landa.
4.1.9. Þegar mælikerfi eru með tvístefnulokum skulu þeir hannaðir á þann hátt að útilokað sé að hafa samband milli opanna þriggja samtímis.
4.2. Staðlaðar teikningar.
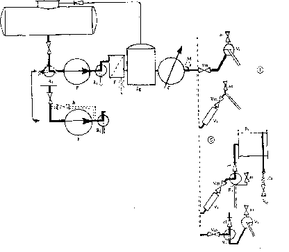
Starfar með sjálfstreymi og hefur varanlega loftrás við tilfærslupunktinn
Möguleikar: mælt útstreymi eingöngu (tóm slanga).

Skýringar við staðalteikningu S 1
Ef fleiri en eitt hólf er í tankinum verður mælikerfið að hafa beina og varanlega tengingu við sérstakt hólf án söfnunarkerfis.
A: Búnaður til að koma í veg fyrir hringiðu.
F: Sía. Hún skal vera hönnuð og uppsett á þann hátt að hægt sé að hreinsa hang án þess að tæma mælinn eða sjónglerið (V1 eða V2 eftir því sem við á). Öll sían verður að vera neðan við hæðarlínu tilfærslupunktsins.
Tl , T2 : Heimilaðar lofttæmingaraðgerðir.
T1 : loftventill og einstefnuloki til að hindra loftstreymi inn í mælikerfið. T2 : loftið er lent aftur yfir í loftrúm tanksins.
car: Einstefnuloki til að hindra loftstreymi af völdum hitaþrýstings í tankinum.
C: Mælir.
Vm: Stjórnloki.
I og II: Útstreymiskostir í kerfi með tómum slöngum. V 1 : Yfirfallssjóngler.
V2 : Sjóngler eins og það er skilgreint í 1.1.8, sem gegnir einnig hlutverki gasmælis.
at: Varanleg loftrás út undir bert loft, nægilega víð til að tryggja að þrýstingur í mælinum sé að minnsta kosti jafn þrýstingi andrúmsloftsins.
Þessi varanlega loftrás getur verið um lóðrétt rör án loka. Ef þetta rör er tengt við efsta hluta tanksins er einstefnulokinn "car" óþarfur.
H: Hæð vökva.
h: Hæð tankbotnsins yfir tilfærslupunktinum. Þessi hæð verður að vera nægilega mikil til að tryggja rennsli sem er að minnsta kosti jafnt lágmarksrennsli mælisins þar til tankurinn er alveg tómur.
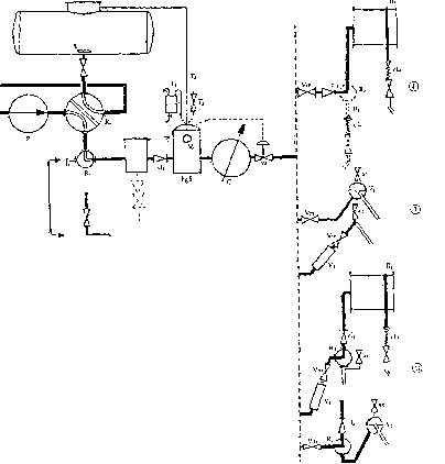
Starfar með sjálfstreymi án varanlegrar loftrásar við tilfærslupunktinn við útstreymi
Möguleikar:
b) beint ómælt útstreymi, tæming og áfylling tanks framhjá mæli.

Skýringar við staðalteikningu S 2
Uppsetning röra milli hólfa og mælikerfa skal vera með þeim hætti að tengingin sé varanleg.
A: Búnaður til að koma í veg fyrir hringiðu.
R: Tvístefnuloki sem gefur möguleika á útstreymi gegnum mæli, framhjá mæli og tæmingu og áfyllingu tanksins án þess að mælirinn sé notaður.
Þessi loki er valfrjáls. Í stað hans má setja beina tengingu.
F: Sía. Tæmingarkrani er aðeins leyfður ef í honum er einstefnuloki sem hindrar allt loftstreymi inn í mælikerfið.
PgS: Sérbúinn afloftunarventill samkvæmt skilgreiningu í lið 1.1.5.
: Sjóngler í sérbúnum afloftunarventli.
T1 ,T2 ,T3 ,T4 : Heimilaðar lofttæmingaraðferðir.
T1: loftið er lent aftur yfir í tankinn.
T2: loftið er lent út undir bert loft.
T3: loftið er lent í hylki sem tekur við vökvaögnum er fylgja með því.
T4: loftventill.
C: Mælir.
va: Loki sem sérbúni afloftunarventillinn lokar sjálfkrafa þegar þrýstingurinn er of lítill til að hindra uppgufun í mælinum eða þegar loftvasar myndast í sérbúna afloftunarventlinum. Þessi loki skal einnig lokast ef fram kemur bilun í stýrikerfi hans.
I og II: Útstreymiskostir í kerfi með tómum slöngum
I. kostur: yfirfallssjóngler V2 .
II. kostur: sjóngler eins og það er skilgreint í 1.1.8, sem gegnir einnig hlutverki gasmælis V3 .
Vm: Stjórnloki.
Sjálfvirki lokinn va og stjórnlokinn Vm geta verið samtengdir í sérbúinn loka sem annast báðar aðgerðirnar. Í því tilviki verða þessar aðgerðir að vera óháðar hvor annarri.
Sé II. kostur tekinn verður þessi sérbúni loki að vera aftan við sjónglerið V3 .
at: Handvirkur loftventill. Hann getur verið sjálfvirkur (t.d. lokast sjálfkrafa meðan á mælingu stendur og opnast að henni lokinni).
H: Hæð vökva.
h: Hæð tankbotnsins yfir tilfærslupunktinum. Þessi hæð verður að vera nægilega mikil til að tryggja rennsli sem er að minnsta kosti jafnt lágmarksrennsli mælisins þar til tankurinn er alveg tómur.
Í mælikerfinu er dæla, loftskilja og ein eða tvær fylltar slöngur.
Möguleikar:
b) beint ómælt útstreymi (með eða án dælu), tæming og áfylling tanks framhjá mæli.

R1 : Tvístefnuloki sem gefur möguleika á útstreymi gegnum mæli, framhjá mæli og tæmingu og áfyllingu tanksins án þess að mælirinn sé notaður.
Þessi loki er valfrjáls. Í stað hans má setja beina tengingu.
P: Dæla. Hafa má möguleika á að snúa dælunni við. Í því tilviki skal bæta einstefnuloka við milli lokans R2 og loftskiljunnar Sg.
R2 : Valfrjáls tvístefnuloki fyrir beint útstreymi án mælingar.
F: Sía. Síunni getur fylgt tæmingarkrani.
Sg: Loftskilja eins og hún er skilgreind í 1.6.2.1.4. Vökvaborðið í loftskiljunni verður að vera hærra en í mælinum.
T1 , T2 : Heimilaðar lofttæmingaraðferðir.
T1: loftið er lent aftur yfir í tankinn.
T2: loftið er lent í tankinn um hylki sem tekur við vökvaögnum er fylgja því.
C: Mælir.
Vm: Stjórnloki.
cl: Einstefnuloki.
fl1 : Fyllt slanga á tromlu.
fl2 : Valfrjáls fyllt aukaslanga (mjög stutt) fyrir útstreymi með miklu rennsli.
cla: Loki sem kemur í veg fyrir að fyllta slangan tæmist.
R3 : Búnaður sem gerir útstreymi mögulegt með hvorri slöngunni sem er í mælikerfi með tveimur slöngum. Þessi búnaður verður að vera í samræmi við fyrstu málsgreinina í lið 1.10.1 og aðra málsgreinina í lið 2.2.4.
Í mælikerfinu er dæla, loftskilja og ein tóm slanga eða ein fyllt og ein tóm slanga.
Möguleikar:
b) mælt útstreymi með sjálfstreymi (tóm slanga);
c) beint ómælt útstreymi (með eða án dælu), tæming og áfylling tanks framhjá mæli.

R1 : Tvístefnuloki sem gefur möguleika á útstreymi gegnum mæli, framhjá mæli og tæmingu og áfyllingu tanksins án þess að mælirinn sé notaður.
Þessi loki er valfrjáls. Í stað hans má setja beina tengingu.
P: Dæla. Hafa má möguleika á að snúa dælunni við. Í því tilviki skal bæta einstefnuloka við milli lokans R2 og loftskiljunnar Sg.
B: Valfrjáls hjárás sem veitir möguleika á útstreymi með sjálfrennsli í gegnum mæli (tóm slanga). Þessi hjárás er aðeins leyfð ef lokinn Rl er ekki notaður.
R2 : Valfrjáls tvístefnuloki fyrir beint útstreymi án mælingar.
F: Sía. Henni getur fylgt tæmingarkrani.
Sg: Loftskilja eins og hún er skilgreind í 1.6.2.1.4. Vökvaborðið í loftskiljunni verður að vera hærra en í mælinum.
car: Einstefnuloki til að hindra loftstreymi (þegar um er að ræða útstreymi með tómri slöngu).
C: Mælir.
M: Þrýstimælisúttak; það er aðeins skyldubundið þegar hjárás B er notuð.
Við frumsannprófun gerir þetta úttak mögulegt eftirlit með því að þrýstingur í mælinum sé að minnsta kosti jafn þrýstingnum í andrúmsloftinu við útstreymi með sjálfstreymi.
at: Sjálfvirkur eða handvirkur loftloki. Þegar hjárás B er notuð verður þessi loki að vera sjálfvirkur og nægilega víður til að tryggja að þrýstingur í mælinum sé að minnsta kosti jafn þrýstingnum í andrúmsloftinu.
Vm: Stjórnloki.
I og II: Útstreymiskostir:
I. kostur: tóm slanga.
II. kostur: ein fyllt slanga og ein tóm slanga.
cl: Einstefnuloki.
V1 : Yfirfallssjóngler.
V2: Sjóngler eins og það er skilgreint í 1.1.8, sem gegnir einnig hlutverki gasmælis.
fl1: Fyllt slanga á tromlu.
cla: Loki sem kemur í veg fyrir að fyllta slangan tæmist.
R3: Búnaður sem gerir útstreymi mögulegt með hvorri slöngunni sem er í mælikerfi með tveimur slöngum. Þessi búnaður verður að vera í samræmi við fyrstu málsgreinina í lið 1. 10.1 og aðra málsgreinina í lið 2.2.4.
Í mælikerfinu er dæla, afloftunarventill og ein eða tvær fylltar slöngur. Útstreymi getur aðeins orðið gegnum mæli með dælu (full slanga).

Ef mörg hólf eru í tankinum verður mælikerfið að hafa beina og varanlega tengingu við sérstakt hólf án söfnunarkerfis.
A: Búnaður til að koma í veg fyrir hringiðu.
V: Loki af þeirri gerð að hann er "alveg opinn eða alveg lokaður" og kemur í veg fyrir að rennsli minnki við inntak dælunnar.
M: Þrýstimælir til eftirlits með því að þrýstingur við inntak dælunnar sé aldrei minni en þrýstingur andrúmsloftsins.
P: Dæla.
F: Sía.
Tæmingarkrana má aðeins nota ef í honum er einstefnuloki sem kemur í veg fyrir að loft geti sogast inn í mælikerið.
Pg: Afloftunarventill. Nota má tvö afbrigði til að losa loft, T1 og T2.
T1: Bein tenging milli afloftunarventilsins og tanksins. Í því tilviki verða röralagnirnar að liggja meðfram veggnum inn í tankinn til að vökvi og lofttegundir skiljist auðveldlega að.
T2: Afloftunarventill sem er tengdur við tankinn um hylki sem tekur við vökvaögnum úr loftinu.
C: Mælir.
Vm: Stjórnloki.
cl: Einstefnuloki.
fll : Fyllt slanga á tromlu.
fl2: Valfrjáls fyllt aukaslanga (mjög stutt) fyrir afhendingu með miklu rennsli.
cla: Loki sem kemur í veg fyrir að fyllta slangan tæmist.
R: Búnaður sem gerir útstreymi mögulegt með hvorri slöngunni sem er í mælikerfi með tveimur slöngum. Þessi búnaður verður að vera í samræmi við fyrstu málsgreinina í lið 1.10.1 og aðra málsgreinina í lið 2.2.4.
Í mælikerfinu er loftskilja ásamt aðrennslisdælunni, ein eða tvær fylltar slöngur, ein tóm slanga eða ein fyllt og ein tóm slanga.
Möguleikar:
b) beint útstreymi með eða án dælu, tæming og áfylling tanks framhjá mæli.

Rl: Tvístefnuloki sem gefur möguleika á útstreymi gegnum mæli, framhjá mæli og tæmingu og áfyllingu tanksins án þess að mælirinn sé notaður.
Þessi loki er valfrjáls. Í stað hans má setja beina tengingu.
F: Sía. Henni getur fylgt tæmingarkrani.
SgP: Loftskilja ásamt aðrennslisdælu eins og henni er lýst í fyrstu málsgrein 1.6.2.1.2. Þessi fylgihlutur verður að uppfylla kröfurnar í lið 1.6.2.1.4. Hún skal hafa EBE-mynsturviðurkenningu.
cl1: Einstefnuloki. Þennan loka má hafa aftan við mælinn.
R2: Valfrjáls tvístefnuloki fyrir beint útstreymi án mælingar.
C: Mælir.
I, II, III: Útstreymiskostir:
I. kostur: ein eða tvær fylltar slöngur; II. kostur: tóm slanga;
III. kostur: ein fyllt eða ein tóm slanga.
Vm: Stjórnloki.
V1: Yfirfallssjóngler.
V2: Sjóngler eins og það er skilgreint í 1.1.8, sem gegnir einnig hlutverki gasmælis.
fl1: Fyllt slanga.
fl2: Valfrjáls fyllt aukaslanga (mjög stutt) fyrir útstreymi með miklu rennsli.
cla: Loki sem kemur í veg fyrir að fyllta slangan tæmist.
cl2: Einstefnuloki.
at: Sjálfvirkur eða handvirkur loftventill.
R3: Búnaður sem gerir útstreymi mögulegt með hvorri slöngunni sem er í mælikerfi með tveimur slöngum. Þessi búnaður verður að vera í samræmi við fyrstu málsgreinina í lið 1.10.1 og aðra málsgreinina í lið 2.2.4.
Í mælikerfinu er dæla, sérbúinn afloftunarventill, ein eða tvær fylltar slöngur, ein tóm slanga eða ein fyllt og ein tóm slanga.
Möguleikar:
b) mælt útstreymi með sjálfstreymi (tóm slanga);
c) beint útstreymi með eða án dælu framhjá mæli, tæming og áfylling tanks framhjá mæli.

Ef mörg hólf eru í tankinum og sé hægt að nota söfnunarkerfi verða botnlokar hólfsins og lokarnir við inntak rörsins að vera af "opnu" eða "lokuðu" gerðinni. Röralagnir milli hólfa og mælikerfisins skulu vera varanlega tengdar.
A: Búnaður til að koma í veg fyrir hringiðu.
R1: Tvístefnuloki sem gefur möguleika á útstreymi gegnum mæli, framhjá mæli og tæmingu og áfyllingu tanksins framhjá mæli.
Þessi loki er valfrjáls. Í stað hans má setja beina tengingu.
P: Dæla. Hafa má möguleika á að snúa dælunni við. Í því tilviki skal setja inn einstefnuloka milli lokans R2 og sérbúna afloftunarventilsins PgS.
B: Valfrjáls hjárás sem veitir möguleika á útstreymi með sjálfstreymi í gegnum mæli (tóm slanga). Þessi hjárás er aðeins leyfð ef lokinn R1 er ekki notaður. R2: Valfrjáls tvístefnuloki fyrir beint útstreymi án mælingar.
F: Sía. Tæmingarkrani er aðeins leyfður ef í honum er einstefnuloki sem hindrar allt loftstreymi inn í mælikerfið.
PgS: Sérbúinn afloftunarventill samkvæmt skilgreiningu í lið 1.1.5.
V1: Sjóngler sérbúins afloftunarventils.
T1, T2 T3: Heimilaðar lofttæmingaraðferðir.
T1: loftið er leitt í hylki sem tekur við vökvaögnum er fylgja með því.
T2: loftið er lent aftur yfir í tankinn.
T3: loftloki.
C: Mælir.
va: Loki sem sérbúni afloftunarventillinn lokar sjálfkrafa þegar þrýstingurinn verður of lítill til að hindra uppgufun í mælinum eða þegar loftvasar myndast í sérbúna afloftunarventlinum. Þessi loki skal einnig lokast ef fram kemur bilun í stýrikerfi hans.
I, II, III: Útstreymiskostir:
I. kostur: ein eða tvær fylltar slöngur;
II. kostur: tóm slanga;
III. kostur: ein fyllt eða ein tóm slanga.
Vm: Stjórnloki.
Sjálfvirki lokinn va og stjórnlokinn Vm geta verið samtengdir í sérbúnum loka sem annast báðar aðgerðirnar. Í því tilviki verða þessar aðgerðir að vera óháðar hvor annarri. Í kerfum þar sem sjóngler er notað (II og III) skal þessi sérbúni loki vera aftan við sjónglerið V3.
cl: Einstefnuloki.
V2: Yfirfallssjóngler.
V3: Sjóngler eins og það er skilgreint í 1.1.8, sem gegnir einnig hlutverki gasmælis.
fl1: Fyllt slanga á tromlu.
f12: Valfrjáls fyllt aukaslanga (mjög stutt) fyrir útstreymi með miklu rennsli.
cla: Loki sem kemur í veg fyrir að fyllta slangan tæmist.
at: Sjálfvirkur eða handvirkur loftloki.
R3: Búnaður sem gerir útstreymi mögulegt með hvorri slöngunni sem er í mælikerfi með tveimur slöngum. Þessi búnaður verður að vera í samræmi við fyrstu málsgreinina í lið 1.10.1 og aðra málsgreinina í lið 2.2.4.
1 mælikerfinu er dæla, þrístefnuloki, sérbúinn afloftunarventill, ein eða tvær fylltar slöngur, ein tóm slanga eða ein fyllt og ein tóm slanga.
Möguleikar:
b) mælt útstreymi með sjálfstreymi (tóm slanga);
c) beint útstreymi með eða án dælu, framhjá mæli og tæming og áfylling tanks framhjá mæli.

Skýringar við staðalteikningu S 8
Ef mörg hólf eru í tankinum og sé hægt að nota söfnunarkerfi verða botnlokar hólfsins og lokarnir við inntak rörsins að vera af "opnu" eða "lokuðu" gerðinni. Röralagnir milli hólfa og mælikerfisins verða að vera varanlega tengdar.
A: Búnaður til að koma í veg fyrir hringiðu.
P: Dæla.
R0: Þrístefnuloki sem ásamt lokunum R1 og R2 gerir kleift að framkvæma eftirfarandi aðgerðir:
1. Mælt eða ómælt útstreymi með dælu (fyllt eða tóm slanga).
2. Mælt eða ómælt útstreymi með sjálfstreymi (tóm slanga), tæming og áfylling tanksins.
3. Áfylling tanksins með hjálp dælunnar P.
R1: Þessi tvístefnuloki er valfrjáls. Í stað hans má hafa beina tengingu.
F: Sía.
Tæmingarkrani er aðeins leyfður ef í honum er einstefnuloki sem hindrar allt loftstreymi inn í mælikerfið.
cl1: Einstefnuloki.
PgS: Sérbúinn afloftunarventill samkvæmt skilgreiningu í lið 1.1.5.
V1: Sjóngler sérbúins afloftunarventils.
T1, T2 T3:Heimilaðar lofttæmingaraðferðir.
T1: loftið er lent í hylki sem tekur við vökvaögnum er fylgja með því.
T2: loftið er lent aftur yfir í tankinn.
T3: loftloki.
C: Mælir.
va: Loki sem sérbúni alloftunarventillinn lokar sjálfkrafa þegar þrýstingurinn verður of lítill til að hindra uppgufun í mælinum eða þegar loftvasar myndast í alloftunarventlinum. Þessi loki skal einnig lokast ef fram kemur bilun í stýrikerfi hans.
I, II, III: Útstreymiskostir:
I. kostur: ein eða tvær fylltar slöngur;
II. kostur: tóm slangy;
lII. kostur: ein fyllt eða ein tóm slangy.
Vm: Stjórnloki.
Sjálfvirki lokinn va og stjórnlokinn Vm geta verið samtengdir í sérbúnum loka sem annast báðar aðgerðirnar. Í því tilviki verða þessar aðgerðir að vera óháðar hvor annarri. Í kerfum þar sem sjóngler er notað (II og III) skal þessi sérbúni loki vera aftan við sjónglerið V3.
cl2: Einstefnuloki.
V2: Yfirfallssjóngler.
V3: Sjóngler eins og það er skilgreint í 1.1.8, sem gegnir einnig hlutverki gasmælis.
fl1: Fyllt slanga á tromlu.
fl2: Valfrjáls fyllt aukaslanga (mjög stutt) fyrir útstreymi með miklu rennsli.
cla: Loki sem kemur í veg fyrir að fyllta slangan tæmist.
at: Sjálfvirkur eða handvirkur loftventill.
R3: Búnaður sem gerir útstreymi mögulegt með hvorri slöngunni sem er í mælikerfi með tveimur slöngum. Þessi búnaður verður að very í samræmi við fyrstu málsgreinina í lið 1.10.1 og aðra málsgreinina í lið 2.2.4.
Í mælikerfinu er dæla, loftskilja, loki til að viðhalda þrýstingi og fyllt slanga.
Möguleikar:
b) beint útstreymi með eða án dælu, framhjá mæli og tæming og áfylling tanks framhjá mæli.

Skýringar við staðalteikningu S 9
R1: Tvístefnuloki sem gefur möguleika á útstreymi gegnum mæli, tæmingu og áfyllingu tanksins framhjá mælinum.
Þessi loki er valfrjáls. Í stað hans má setja beina tengingu.
P: Dæla.
B: Stillanleg hjárás með tengingu við tankinn.
R2: Valfrjáls tvístefnuloki fyrir beint útstreymi án mælingar.
cll: Einstefnuloki eins og honum er lýst í 2.4.1. Einnig má hafa hann á milli síunnar og loftskiljunnar.
F: Sía.
Sg: Loftskilja sem er í samræmi við lið 1.6.2.1.4 eða aðra málsgrein í lið 2.4.3.1. Afloftunarbúnaðurinn er tengdur við loftrúm tanksins. Til öryggis er hægt að hafa loka í þessum búnaði; í því tilviki skal hann vera milli tanksins og lagnarinnar að lokanum "vamp".
C: Mælir. vamp: Sjálfvirkur loki til að viðhalda þrýstingi, sem liggur að minnsta kosti 100 kPa hærra en þrýstingur mettaðrar gufu í tankinum.
Vm: Stjórnloki.
cl2: Einstefnuloki.
Z: Rör sem liggur inn í loftrými tanksins og er einungis notað til að fylla flutningstank ökutækis og tæma hann við skoðun á mælikerfinu.
Th: Hitamælir. Þessi hitamælir skal vera nærri mælinum, annaðhvort í loftskiljunni eða við inntak eða úttak mælisins.
M: Skyldubundinn þrýstimælir.
M0: Valfrjálsir þrýstimælar.
Aths.: a) Til að tryggja að kröfurnar í lið 2.4.5 séu uppfylltar að öllu leyti skulu vera greinilegar merkingar á plötu um að loftrýmin í tanki ökutækisins og tanki viðskiptamannsins megi ekki vera samtengd.
b) Setja má inn öryggisloka; í því tilviki skulu þeir vera í samræmi við kröfurnar í lið 2.4.6.