Reglugerð þessi gildir um geislavarnir vegna notkunar röntgentækja við læknisfræðilega geislun, að undanskildum röntgentækjum sem notuð eru við tannlækningar. Geislavarnir ríkisins geta sett leiðbeiningar um geislavarnir við notkun þeirra röntgentækja sem reglugerðin tekur til.
Í þessari reglugerð gilda eftirfarandi skilgreiningar:
Ábyrgðarmaður: Starfsmaður með viðeigandi menntun og reynslu, tilnefndur af eiganda til þess að bera í umboði hans ábyrgð á starfseminni hvað varðar geislavarnir. Ábyrgðarmaður getur einnig verið skráður eigandi viðkomandi búnaðar.
Blýgildi: Blýgildi skermunar er sú þykkt af blýi sem deyfir geislun jafn mikið og skermunin. Blýgildi skermunar breytist með þykkt hennar, orku geislunar og stærð geislasviðsins.
Eigandi röntgenbúnaðar: Lögaðili eða einstaklingur sem er skráður sem innflytjandi og /eða kaupandi röntgenbúnaðar í tilkynningu til Geislavarna ríkisins. Eigandi getur einnig verið ábyrgðarmaður vegna geislavarna röntgenbúnaðar.
Geislaálag sjúklings: Mælikvarði á magn þeirrar geislunar sem sjúklingur verður fyrir við röntgenrannsókn, þar sem heilsufarsleg áhætta einstaklings er lögð til grundvallar.
Geislaskammtur: Mælikvarði á magn jónandi geislunar, án tillits til heilsufarslegrar áhættu þess er fyrir geisluninni verður.
Geislastarfsmaður: Starfsmaður sem vegna vinnu sinnar getur orðið fyrir jónandi geislun, hvort sem hann er sjálfstætt starfandi eða í vinnu hjá öðrum, og líkleg er að leiði til geislaálags eða hlutgeislaálags umfram þau hámörk sem gefin eru fyrir almenning í reglugerð um hámörk geislunar starfsmanna og almennings vegna starfsemi þar sem notuð er jónandi geislun.
Gæðaeftirlit: Sá hluti gæðatryggingar sem tekur til aðgerða (skipulagningar, samhæfingar, framkvæmdar) sem ætlað er að viðhalda gæðum eða bæta þau. Gæðaeftirlit felur í sér að vakta, meta og halda innan settra marka öllum einkennandi þáttum fyrir virkni búnaðar sem hægt er að skilgreina, mæla og hafa eftirlit með.
Gæðatrygging: Sérhver skipulögð og skipuleg aðgerð sem nauðsynleg er til að skapa nægilegt traust á því að aðstaða, kerfi, kerfishlutar eða aðgerðir virki á fullnægjandi hátt og í samræmi við samþykkta staðla.
Hóprannsóknir: Læknisfræðilegar rannsóknir í vísindalegum tilgangi, á einkennalausum þátttakendum og þar sem notuð er jónandi geislun.
Jónandi geislun: Geislun frá geislavirkum efnum, röntgengeislun eða önnur geislun sem hefur hliðstæð líffræðileg áhrif.
Læknisfræðileg geislun: Sérhver geislun
| a) | sjúklinga til greiningar eða meðferðar sjúkdóma, |
| b) | einstaklinga sem þáttur í heilbrigðiseftirliti starfsfólks, |
| c) | einstaklinga vegna þátttöku í skimunarrannsóknum, |
| d) | einstaklinga vegna þátttöku í líf- eða læknisfræðilegum rannsóknum, |
| e) | einstaklinga sem hluta réttarfars- eða tryggingarannsókna. |
| f) | einstaklinga sem vitandi og af frjálsum vilja (og ekki sem hluta af starfi sínu) aðstoða eða hlúa að einstaklingum, sem eru geislaðir í læknisfræðilegum tilgangi. |
Samheiti fyrir þann búnað sem notaður er við myndgerð á myndgreiningardeildum, þar á meðal filmuhylki, skyggnimagnarar og stafrænir myndmóttakarar.
Réttlæting: Snýr að því mati ábyrgðarmanns og tilvísanda að í geisluninni skuli felast nægileg gagnsemi fyrir einstaklinginn sem vegur þyngra en hugsanleg skaðsemi geislunarinnar. Sérhver geislun einstaklingsins skal réttlætt fyrirfram að teknu tilliti til aðstæðna.
Röntgenaðstaða: Röntgenstofa, og stjórnherbergi og allur röntgenbúnaður sem þar er notaður. Tekur einnig til búningsklefa og framköllunar- og úrlestraraðstöðu.
Röntgenbúnaður: Búnaður sem notaður er í röntgenaðstöðu við röntgenrannsóknir, þ.e. röntgentæki, myndmiðill, myndvinnslu- og myndskoðunarbúnaður.
Röntgenlampi: Röntgenlampi og lampahús röntgentækis.
Röntgenstofa: Herbergi þar sem röntgentækið er staðsett, með eða án stjórnborðs. Stjórnborðið getur bæði verið inni í herberginu eða fyrir utan það. Röntgenstofan er sá hluti röntgenaðstöðunnar sem skerma þarf bæði vegna frumgeisla úr röntgenlampanum og dreifigeislunar.
Röntgentæki: Geislatæki sem gefur frá sér röntgengeislun, venjulega röntgenlampi, aflgjafi (spennir) og stjórnborð.
Skimun: Aðferð þar sem geislunarbúnaður er notaður til snemmgreininga hjá áhættuhópum.
Útgangsgeislun: Röntgengeislun sem mælist í geislasviði röntgenlampa og er m.a. háð háspennu (kV), straum (mA), geislunartíma (í sek.), eða mAs stillingu röntgentækisins (margfeldi straums og geislunartíma) og deyfingu röntgenlampans.
Viðmiðunarmörk við geislagreiningu: Meðalgeislaskammtur eða geislaálag sjúklings við dæmigerða rannsókn á hópi sjúklinga af dæmigerðri stærð.
Innflutningur röntgentækja er tilkynningaskyldur samkvæmt 3. mgr. 7. gr. laga nr. 44/2002 um geislavarnir. Innflytjendur skulu senda Geislavörnum ríkisins tilkynningu um hvert röntgentæki sem þeir flytja inn ásamt upplýsingum um kaupanda og fyrirhugaðan notkunarstað. Tilkynningum skal skilað á eyðublöðum stofnunarinnar eða í öðru formi sem stofnunin samþykkir.
Uppsetning og notkun röntgentækja er háð leyfi Geislavarna ríkisins, sbr. 9. og 20. gr. laga nr. 44/2002 um geislavarnir. Óheimilt er að hefja uppsetningu eða notkun röntgentækja fyrr en leyfi stofnunarinnar er fengið.
Eigandi og/eða ábyrgðarmaður skal sækja um leyfi á eyðublöðum Geislavarna ríkisins eða með öðrum þeim hætti sem stofnunin samþykkir.
Með umsókn um leyfi til uppsetningar og notkunar röntgentækis/tækja skulu fylgja eftirfarandi gögn, eins og við á hverju sinni:
| 1. | teikningar af röntgenaðstöðu og röntgenstofu, þar sem fram kemur staðsetning röntgenbúnaðar, |
| 2. | upplýsingar um fyrirhugaða notkun röntgentækis, |
| 3. | upplýsingar um röntgentækið hvað varðar tegund og gerð, |
| 4. | upplýsingar um skermum röntgenaðstöðu (sbr. XVII. kafla), sem og hvaða starfsemi er í aðlægum herbergjum og byggingarefni í veggjum, |
| 5. | upplýsingar um ábyrgðarmann (sbr. IV. kafla), |
| 6. | áætlun um gæðaeftirlit vegna búnaðarins (sbr. XV. kafla), |
| 7. | annað sem máli skiptir með tilliti til geislavarna. |
Þegar um er að ræða nýja tegund eða flokk starfsemi, skal sérstaklega gerð grein fyrir notkuninni og mat lagt á efnahagslega, þjóðfélagslega eða aðra gagnsemi í samanburði við áhættu á skaðlegum heilsufarsáhrifum sem geislunin getur haft sbr. 8. gr. laga nr. 44/2002, sjá einnig 37. grein þessarar reglugerðar.
Með umsókn um leyfi skal fylgja leyfisgjald sem kveðið er á um í gjaldskrá heilbrigðis- og tryggingamálaráðherra.
Breytingar á röntgentækjum og starfsemi, skv. 4. gr., sem áhrif hafa á geislavarnir eru einnig háðar leyfi Geislavarna ríkisins, sbr. 9. og 20. gr. laga nr. 44/2002 um geislavarnir. Með breytingum er átt við breytingu á forsendum leyfisveitingar, sbr. 4. og 6. gr. þessarar reglugerðar, sem hefur áhrif á geislavarnir svo sem skermun, eða breytingar á staðsetningu röntgentækis. Eigandi eða ábyrgðarmaður skal sækja um leyfi á eyðublöðum Geislavarna ríkisins eða með öðrum þeim hætti sem stofnunin samþykkir. Með umsókn um leyfi skulu fylgja fullnægjandi upplýsingar um fyrirhugaðar breytingar og áhrif þeirra á geislavarnir.
Leyfi Geislavarna ríkisins til notkunar röntgentækja er veitt á grundvelli umsóknar, sbr. 4. og 5. gr. og þegar, eftir því sem við á:
| a. | ábyrgðarmaður samkvæmt 11. gr. hefur verið samþykktur (sjá IV. kafla), |
| b. | áætlun um gæðaeftirlit hefur verið samþykkt (sjá kafla XV), |
| c. | niðurstöður móttökuprófunar liggur fyrir (sjá kafla XV), |
| d. | úttekt stofnunarinnar á röntgenaðstöðunni, öryggisbúnaði, og öðru, er lýtur að geislavörnum hefur farið fram (sjá kafla XVIII). |
Leyfi til starfrækslu röntgentækja eru ekki tímabundin, enGeislavarnir ríkisins geta afturkallað veitt leyfi, séu forsendur leyfisveitingarinnar ekki lengur fyrir hendi. Geislavarnir ríkisins skulu þegar í stað banna notkun á röntgentækjum ef í ljós kemur að þau eru starfrækt án leyfis frá stofnuninni.
Tilkynna skal Geislavörnum ríkisins skriflega um eigendaskipti á röntgentækjum svo og þegar röntgentæki eru varanlega tekin úr notkun. Ábyrgðarmaður skal sjá til þess að það sé gert (sbr. V. kafla).
Á meðan röntgentæki getur gefið frá sér jónandi geislun skal það vera í öruggri vörslu og sæta eftirliti, sbr. 12. gr. laga nr. 44/2002. Geislavörnum ríkisins er heimilt að krefjast förgunar eða fjarlægingar röntgentækja sem ekki eru lengur í notkun.
Samkvæmt 10. gr. laga nr. 44/2002 um geislavarnir ber eigandi ábyrgð á notkun röntgentækis svo og að tækið, búnaður og öll starfsemi, hvað geislavarnir varðar sé í samræmi við lögin, reglugerðir og reglur settar samkvæmt þeim.
Samkvæmt 10. gr. laga nr. 44/2002 um geislavarnir skal eigandi eða fulltrúi hans, tilnefna ábyrgðarmann með viðeigandi menntun og reynslu. Tilkynna skal nafn hans, menntun og reynslu til Geislavarna ríkisins og er tilnefningin háð samþykki stofnunarinnar.
Hjá heilbrigðisstofnunum/fyrirtækjum með fjölþætta starfsemi í aðskildum einingum (t.d. deildaskipt sjúkrahús) má skipa ábyrgðarmenn fyrir einstakar einingar (deildir) eða starfsþætti að fengnu samþykki Geislavarna ríkisins.
Ábyrgðarmaður ber í umboði eiganda ábyrgð á að starfsemin sé í samræmi við lög um geislavarnir nr. 44/2002, reglugerðir og leiðbeiningar settar samkvæmt þeim.
Áður en ábyrgðarmaður lætur af störfum skal eigandi leita samþykkis Geislavarna ríkisins á nýjum ábyrgðarmanni.
Ábyrgðarmaður skal uppfylla kröfur Geislavarna ríkisins hvað varðar menntun og þekkingu á eðli, eiginleikum og notkun jónandi geislunar sem og geislalíffræði og geislavörnum eftir því sem við á hverju sinni miðað við þá starfsemi sem um er að ræða.
Ábyrgðarmaður skal einnig hafa nægilega menntun og reynslu til þess að meta réttlætingu læknisfræðilegrar geislunar eftir því sem við á hverju sinni að mati Geislavarna ríkisins.
Kröfur Geislavarna ríkisins um menntun og þekkingu ábyrgðarmanna skulu taka mið af reglum og leiðbeiningum Evrópusambandsins sbr. nú ritið: "Radiation Protection 116 – Guidelines on education and training in radiation protection for medical exposures, Luxemburg, 2000".
Við röntgenmyndgreiningu skal ábyrgðarmaður vera sérfræðingur í geislagreiningu sé hann starfandi hjá viðkomandi heilbrigðisstofnun, deild eða fyrirtæki. Sé sérfræðingur í geislagreiningu ekki fyrir hendi getur annar heilbrigðisstarfsmaður sem uppfyllir kröfur Geislavarna ríkisins, sbr. 12. grein verið ábyrgðarmaður.
Sé ábyrgðarmaður ekki sérfræðingur í geislagreiningu skal koma upp og viðhalda viðeigandi samstarfi við myndgreiningardeild eða sérfræðing í geislagreiningu um úrlestur og greiningu þeirra röntgenrannsókna sem framkvæmdar eru.
Ábyrgðarmaður skal sjá til þess að þeir einir framkvæmi röntgenrannsóknir sem eru til þess hæfir á grundvelli viðurkenndrar sérmenntunar svo sem læknar, hnykkjar, geislafræðingar eða röntgenhjúkrunarfræðingar eða nemendur í þessum greinum.
Ábyrgðarmaður skal sjá til þess að þeir sem framkvæma röntgenrannsóknir, hafi fullnægjandi þekkingu og færni í framkvæmd þeirra.
Ábyrgðarmaður skal sjá til þess að þeir sem framkvæma röntgenrannsóknir á börnum, skimun og rannsóknir sem geta valdið háu geislaálagi sjúklinga svo sem skyggnirannsóknir, tölvusneiðmyndarannsóknir og inngripsrannsóknir hafi sérstaka menntun og þjálfun til starfans.
Ábyrgðarmaður skal sjá til þess að starfsfólk sem framkvæmir röntgenrannsóknir hafi tækifæri til símenntunar, sérstaklega þegar ný tækni er tekin í notkun.
Ábyrgðarmaður skal sjá til þess að fyrir hendi séu leiðbeiningar um tilvísanir til röntgenrannsókna sbr. almennar leiðbeiningar landlæknisembættisins um tilvísanir og sjá til þess að læknar sem senda sjúklinga í röntgenrannsóknir hafi aðgang að þeim auk upplýsinga um geislaálag við rannsóknirnar.
Ábyrgðarmaður eða sá sem hann felur framkvæmd röntgenrannsóknar skal meta hvort rannsóknin sé réttlætanleg og skuli framkvæmd. Sjá einnig í 39. gr.
Ábyrgðarmaður skal sjá til þess að hægt sé að afhenda myndgögn og aðrar niðurstöður rannsókna gegn beiðni í því skyni að koma í veg fyrir ónauðsynlegar endurtekningar á rannsóknum.
Ábyrgðarmaður skal sjá til þess að sjúklingar fái upplýsingar um framkvæmd og áhættu við röntgenrannsóknir.
Einnig skal ábyrgðarmaður sjá til þess að einstaklingar sem af fúsum og frjálsum vilja aðstoða og styðja sjúklinga við rannsóknir eða meðferð, fái viðeigandi upplýsingar um hugsanlega geislun sem því getur fylgt. Til staðar skulu vera viðeigandi leiðbeiningar um hvernig geislun slíkra einstaklinga er haldið í lágmarki.
Ábyrgðarmaður skal sjá til þess að komið sé upp og viðhaldið virku gæðaeftirliti, sbr. XV. kafla. Hann skal einnig sjá til þess að allur röntgenbúnaður sem hann ber ábyrgð á uppfylli rekstrarkröfur sem gerðar eru í viðauka 2.
Ábyrgðarmaður skal sjá um, að tilskilinn útbúnaður til geislavarna sé tiltækur og nothæfur, svo og að hann sé notaður eins og sagt er fyrir um.
Ábyrgðarmaður skal tafarlaust tilkynna slys eða óhöpp er geta valdið aukinni geislun á starfsfólk og sjúklinga til Geislavarna ríkisins.
Ábyrgðarmaður skal sjá til þess að notkun röntgenbúnaðar sé skráð með samræmdum hætti, hvort heldur um skyggningu eða myndatöku er að ræða, á myndgreiningardeildum eða utan þeirra.
Skráning skal vera með þeim hætti að mat á geislaálagi sjúklinga verði eins raunhæft og kostur er, í samræmi við 5. gr. laga nr. 44/2002. Geislavarnir ríkisins gefa út nánari leiðbeiningar um slíka skráningu.
Fyrir allar rannsóknir eða aðgerðarrannsóknir þar sem notaður er búnaður sbr. 90. gr., skal skrá upplýsingar í sjúkragögn sjúklingsins til varanlegrar varðveislu, um lengd skyggnitíma og geislaskammt sjúklings (s.s. flatargeislun (Gycm2)). Í eldri tækjum sem ekki gefa upp geislaskammt skal skrá notuð kV og mA í rannsókninni, fjölda mynda og aðrar upplýsingar sem geta auðveldað mat á geislaálagi sjúklings við rannsóknina.
Starfsfólki ber að gæta að geislavörnum í öllu sínu starfi. Nota ber vinnuaðferðir og hjálpartæki sem tryggja sem mest myndgæði og minnsta geislun á sjúklinga, starfsmenn eða almenning.
Á vinnustöðum, þar sem notuð eru röntgentæki, skal þess gætt að geislaálag starfsfólks sé eins lítið og unnt er með skynsamlegu tilliti til aðstæðna og ávallt innan settra hámarka. Það starfsfólk sem flokkast sem geislastarfsmenn og starfar við, vinnuaðstæður A, skv. reglugerð um hámörk geislunar starfsmanna og almennings vegna starfsemi þar sem notuð er jónandi geislun, á alltaf að bera einstaklingsgeislamæla frá Geislavörnum ríkisins við starf sitt.
Starfsfólki ber að bregðast tafarlaust við hættuástandi með viðbrögðum sem draga úr hættu og tilkynna ábyrgðarmanni, einnig ef grunur er um að sjúklingar eða starfsmenn hafi orðið fyrir geislun fyrir slysni.
Sá sem gefur út beiðni um röntgenrannsókn, læknir eða tannlæknir, skal sjá til þess að beiðnin sé réttlætanleg að teknu tilliti til einkenna og ástands sjúklings svo og áætlaðrar niðurstöðu rannsóknarinnar. Við mat á réttlætingu skal einnig taka tillit til notkunar annarrar viðurkenndrar greiningartækni sem ekki byggir á jónandi geislun.
Hann skal jafnframt:
| a. | upplýsa um fyrri röntgenrannsóknir sem skipta máli og hann hefur vitneskju um, |
| b. | fylgja leiðbeiningum/fyrirmælum ábyrgðarmanns um tilvísanir vegna röntgenrannsókna. (Sjá einnig leiðbeiningar á vefsíðu landlæknisembættisins www.landlaeknir.is). |
Á tilvísun skv. 30. gr. skal koma skýrt fram hver tilvísandinn er. Tilvísandi skal gera grein fyrir þeim læknisfræðilegu einkennum sem réttlæta röntgenrannsóknina. Ef sjúklingur er kona á barnseignaraldri skal koma fram hvort hún sé barnshafandi.
Þeir einir mega annast viðgerðir, uppsetningar og breytingar á röntgentækjum sem uppfylla kröfur Geislavarna ríkisins um þekkingu og reynslu. Fyrirtæki sem taka að sér slíka vinnu skulu sjá til þess að þeir einir annist viðgerðir, uppsetningar og breytingar á röntgentækjum sem uppfylla kröfur Geislavarna ríkisins um þekkingu og reynslu. Ósk um viðurkenningu skal senda Geislavörnum ríkisins á eyðublöðum stofnunarinnar eða með öðrum þeim hætti sem stofnunin samþykkir.
Þeir sem setja upp röntgentæki, gera við þau eða breyta þeim með tilliti til geislunar skulu ganga úr skugga um að öryggisbúnaður tækjanna sé í samræmi við lög og reglugerðir eða aðrar reglur settar samkvæmt þeim og tilkynna Geislavörnum ríkisins tafarlaust ef svo er ekki.
Uppgötvi þeir sem vinna við röntgentæki galla eða bilanir sem geta valdið geislun starfsfólks eða sjúklinga skulu þeir tilkynna það notendum röntgentækisins og ábyrgðarmanni umsvifalaust.
Þeir sem setja upp röntgentæki, gera við þau eða breyta þeim með tilliti til geislunar skulu sjá til þess að hvorki þeir sjálfir né aðrir verði fyrir ónauðsynlegri geislun vegna vinnunnar. Þeir mega ekki undir neinum kringumstæðum beina frumgeislun að sér sjálfum eða öðrum, hvorki á allan líkamann né einstaka líkamshluta, þar með talið hendur. Ekki má taka röntgenmyndir af fólki við prófun á röntgentæki.
Við viðgerðir og stillingar þar sem þarf að geisla með röntgentæki, jafnvel þótt aðeins sé um að ræða geislun í stutta stund, skal þess ávallt gætt að þeir einir séu á röntgenstofu sem nauðsynlega þurfa þess vegna verksins.
Áður en nýjar tegundir röntgenrannsókna eru hafnar og áður en nýr og verulega frábrugðinn röntgenbúnaður er tekinn í notkun skal leggja mat á efnahagslega, þjóðfélagslega eða aðra gagnsemi í samanburði við áhættu á skaðlegum heilsufarsáhrifum sem geislunin getur haft. Greinargerð um slíkt mat á fyrirhugaðri starfsemi skal send Geislavörnum ríkisins og er óheimilt að hefja starfsemina fyrr en samþykki stofnunarinnar liggur fyrir og að fengnu mati landlæknis.
Aðferðir röntgenrannsókna sem þegar fara fram skal endurskoða þegar fyrir liggja nýjar upplýsingar um gagnsemi rannsóknanna eða afleiðingar.
Sérhver röntgenrannsókn vegna greiningar eða meðferðar sjúkdóms skal vera réttlætanleg. Ábyrðarmaður eða sá sem hann felur framkvæmd rannsóknar metur hvort rannsóknin er réttlætanleg og skuli framkvæmd, sbr. 19. gr. Við mat á réttlætingu skal m.a. taka tillit til ástands og einkenna sjúklings svo og áætlaðrar niðurstöðu. Meta ber hvort hægt er, með sambærilegum árangri, að nota aðra viðurkennda greiningatækni sem ekki byggir á jónandi geislun.
Röntgenrannsóknir vegna skimunar, hóprannsókna, og í réttarfars- eða tryggingarlegum tilgangi, skulu einnig vera réttlætanlegar í þeim skilningi að væntanlegur árangur þeirra sé meiri en áhætta þeim tengd, sjá nánar kafla XII.
Geislaálag á sjúklinga við röntgenrannsóknir skal vera eins lítið og unnt er að teknu tilliti til greiningargildis rannsóknar og með skynsamlegu tilliti til aðstæðna.
Þess skal gætt að ekki séu aðrar röntgenrannsóknir framkvæmdar en þær sem réttlætanlegar eru að mati ábyrgðarmanns. Við hverja rannsókn skulu liggja fyrir gildar læknisfræðilegar ástæður fyrir rannsókninni, í vafatilfellum skal leita álits hjá sérfræðingi í geislagreiningu. Til þess að koma í veg fyrir óþarfa rannsóknir, skulu einnig liggja fyrir upplýsingar um fyrri rannsóknir á sjúklingi.
Við röntgenrannsóknir á kviðarholi og mjaðmargrind kvenna á barnsburðaraldri (15–45 ára) þar sem fóstur getur orðið fyrir frumgeislun skal fylgt eftirfarandi:
| 1. | Konan sé spurð hvort hún sé barnshafandi nema fyrir liggi áreiðanlegar upplýsingar þar um. |
| 2. | Sé konan ekki viss um að hún sé ekki barnshafandi og sé ekki hægt að ganga úr skugga um hvort svo sé með beinum hætti þá ber að líta á konuna sem barnshafandi. |
| 3. | Sé konan barnshafandi skv. 1. eða 2. lið og ekki er ráðlegt að fresta rannsókninni að mati læknis þá ber að framkvæma hana með sérstöku tilliti til aðstæðna t.d. að fækka tökum eins og hægt er eða láta starfsmann með mikla reynslu framkvæma rannsóknina. Meta ber hvort ekki er hægt, með sambærilegum árangri, að nota aðra viðurkennda greiningartækni sem ekki byggir á jónandi geislun. |
Við röntgenrannsóknir skal verja eistu og eggjastokka sjúklinga undir 50 ára aldri fyrir geislun. Frá þessu má víkja ef ástand sjúklings kemur í veg fyrir að það sé hægt eða ef það rýrir greiningargildi röntgenrannsóknarinnar. Geislahlíf og annar viðeigandi búnaður til þess að verja eistu og eggjastokka fyrir geislun skal vera fyrir hendi við hvert röntgentæki sem notað er við röntgenrannsóknir nálægt kynkirtlum Í geislahlíf mega hvorki vera sprungur eða annað slit, sem getur rýrt skermunargildi hennar.
Eggjastokkar kvenna undir 50 ára aldri skulu sérstaklega varðir við röntgenrannsóknir þar sem rönd geislasviðs er í minna en 5 cm fjarlægð frá eggjastokkum, t.d. við rannsóknir á lærleggjum, mjöðmum, mjaðmagrind, kviðarholi og þvagfærum, ef það rýrir ekki greiningargildi rannsóknarinnar. Blýgildi geislahlífar skal vera minnst 0,5 mm. Séu eggjastokkar innan geislareits, skal verja þá með geislahlíf, ef það rýrir ekki greiningargildi rannsóknarinnar. Ef eggjastokkar eru ekki innan geislasviðs, skal leggja geislahlíf yfir það svæði, sem hlífa á, allt að jaðri geislasviðs.
Eistu karla undir 50 ára aldri skulu sérstaklega varin við röntgenrannsóknir þar sem rönd geislasviðs er í minna en 5 cm fjarlægð frá eistum, t.d. við rannsóknir á lærleggjum, mjöðmum, mjaðmagrind, kviðarholi og þvagfærum, ef það rýrir ekki greiningargildi rannsóknarinnar. Blýgildi geislahlífar skal vera minnst 0,5 mm fyrir fullorðna karlmenn og 0,35 mm fyrir drengi sé ekki hægt að nota geislahlíf með 0,5 mm blýgildi. Geislahlífin skal umlykja eistun, og hlífa þeim þannig fyrir dreifigeislun frá hinu geislaða svæði sem og frumgeislanum. Í þeim tilfellum, sem þetta er ekki hægt, skal nota geislahlíf á sama hátt og hjá konum, sjá 45. gr.
Við röntgenrannsóknir á börnum skal sýna sérstaka aðgæslu. Þær ber að framkvæma án dreifigeislasíu ef aðstæður leyfa. Ávallt skal skyggna í eins stuttan tíma og unnt er og nota skal púlserandi skyggningu þegar hægt er. Sé heildarsíun röntgenlampa breytanleg skal ávallt velja eins há gildi og unnt er að teknu tilliti til greiningargildis röntgenrannsóknar.
Skyggning til að sannreyna að innstilling sé rétt er aðeins heimil þegar nauðsyn krefur og skal þess gætt að skyggna í sem stystan tíma.
Fjölda röntgenmynda skal takmarka við þann fjölda sem nauðsyn krefur hverju sinni svo tilætlaður árangur af röntgenrannsókn náist. Þetta á sérstaklega við um stafræna myndatöku en þá er hægt að taka með einföldum hætti margar röntgenmyndir á skömmum tíma.
Við tölvusneiðmyndatökur skal velja sneiðbreytur, sem hafa áhrif á geislaálag sjúklings, svo sem háspennu, margfeldi straums og tíma, fjölda sneiða, þykkt sneiða og fjarlægð milli sneiða, þannig að geislaálag sjúklings sé eins lítið og unnt er að teknu tilliti til greiningargildis rannsóknarinnar. Sérstaklega skal þess gætt við framkvæmd rannsókna á börnum.
Aðeins má nota færanleg röntgentæki þegar ástand sjúklings eða aðrar aðstæður leyfa ekki notkun fasts röntgentækis.
Við myndatöku með færanlegu röntgentæki skal þess gætt að fjarlægð frá þeim sjúklingi sem verið er að rannsaka að öðrum sjúklingi sé a.m.k. 2 metrar. Sé fjarlægðin minni þarf að gera ráðstafanir, t.d. með blýskerm, til þess að verja aðra sjúklinga fyrir dreifigeislun.
Á hverjum stað þar sem röntgentæki eru notuð skal vera viðeigandi búnaður til þess að styðja við sjúkling og/eða myndmiðil á meðan á myndatöku og skyggningu stendur.
Á röntgenstofum þar sem skyggning er framkvæmd skal vera hægt að draga úr lýsingu þannig að henti fyrir skyggninguna. Á röntgenstofum þar sem myndir eru teknar skal vera hægt að draga úr lýsingu þannig að ljósvísir sjáist greinilega.
Geislavarnir ríkisins geta sett leiðbeiningar um geislavarnir sjúklinga.
Þegar nauðsynlegt er að styðja sjúkling við framkvæmd röntgenrannsóknar, skal nota hjálpartæki eða annan búnað eins og unnt er til þess. Aðeins í þeim tilfellum, sem það er ekki hægt, mega starfsmenn eða aðrir styðja sjúklinginn. Ekki er rétt að sami starfsmaður sé ávallt valinn til þessa verks, heldur er eðlilegt að starfsmenn skiptist á. Gefa skal skýr fyrirmæli um framkvæmdina. Þeir sem styðja sjúkling mega ekki verða fyrir frumgeislanum. Þeir skulu vera með blýsvuntur til hlífðar gegn dreifigeislun svo og blýhanska ef nauðsynlegt er. Barnshafandi konur og starfsmenn undir 18 ára aldri, mega ekki styðja við sjúklinga við röntgenrannsókn.
Þeir einir mega vera á röntgenstofu við myndatöku eða skyggningu, sem nauðsynlega þurfa vegna rannsóknarinnar. Þeir skulu gæta þess að vera ekki nær sjúklingi en nauðsyn krefur og vera með blýsvuntur eða á bak við blýskerm. Á bráðamóttöku, nýbura- og vökudeildum þarf starfsfólk sem er í meira en 5 metra fjarlægð frá geislasviði ekki að vera með blýsvuntu.
Ef hætta er á að hendur verði fyrir frumgeislun, skal nota blýhanska ef hægt er.
Starfsmenn sem vinna langtímum saman við skyggningu skulu nota skjaldkirtilsvörn svo og blýgleraugu.
Starfsfólk má aðeins í undantekningartilfellum halda eða styðja við myndmiðil við röntgenrannsókn og þá því aðeins að ástand sjúklingsins leyfi ekki notkun haldara. Sá starfsmaður sem heldur eða styður við myndmiðil, má ekki verða fyrir frumgeisluninni og á að vera með blýsvuntu og blýhanska til verndar gegn dreifigeislun. Barnshafandi konur og starfsmenn undir 18 ára aldri, mega ekki halda eða styðja við myndmiðil við röntgenrannsókn.
Vegna geislavarna starfsfólks skulu, fyrir hvert röntgentæki, vera fyrir hendi:
| a) | Minnst eitt par af blýhönskum og ein blýsvunta. Sé um að ræða röntgentæki, sem notað er jöfnum höndum við myndatöku og skyggningu, skulu fylgja því minnst þrjár blýsvuntur, auk blýhanska. |
| b) | Blýgúmmísvuntur skulu hafa blýgildi minnst 0,35 mm og blýgúmmíhanskar minnst 0,25 mm. Sé mesta spenna röntgentækis lægri en 110 kV, má blýgildi svuntu vera minnst 0,25 mm. Á svuntum og hönskum skal greinilega koma fram hvert blýgildi þeirra er. |
| c) | Blýgúmmísvuntur skulu vera af mismunandi stærð og gerð, sem henta viðkomandi notkun. |
Varúðar skal gætt við notkun færanlegra röntgentækja til myndatöku í lárétta geislastefnu. Séu færanleg röntgentæki notuð til myndatöku með aðra geislastefnu en lóðrétta, skal setja upp skerm með blýgildi a.m.k. 1 mm, þétt fyrir aftan myndmiðil, þannig að allur frumgeislinn falli á hann. Þetta á þó ekki við ef sjúklingur er þétt við vegg sem hefur blýgildi jafnt eða meira en 1 mm.
Á röntgenstofum þar sem ekki er augljóst hvenær myndataka eða skyggning fer fram skal setja upp viðeigandi viðvörunarbúnað.
Færanlegir blýskermar til að verja starfsfólk og aðra gegn dreifigeislun skulu vera fyrir hendi og vera notaðir í þeim mæli, sem þörf er á.
Geislavarnir ríkisins geta sett leiðbeiningar um geislavarnir starfsfólks.
Um réttarfarslegar röntgenrannsóknir fanga og þeirra sem eru í haldi lögreglu gilda lög um fangelsi og fangavist nr. 48/1988, með síðari breytingum, og lög um meðferð opinberra mála nr. 19/1991, með síðari breytingum. Um aðrar réttarfarslegar röntgenrannsóknir gildir að þær skulu aðeins eiga sér stað með fúsum og frjálsum vilja þess sem rannsaka á og skulu niðurstöður geta gagnast honum.
Röntgenrannsóknir vegna úrskurðar í tryggingamálum eru aðeins heimilar með fúsum og frjálsum vilja þess sem í hlut á og skulu niðurstöður geta gagnast honum.
Við sérhverja röntgenrannsókn skv. 64. og 65 gr. skal þess sérstaklega gætt að öll geislun sé eins lítil og unnt er.
Geislavarnir ríkisins geta sett leiðbeiningar vegna réttarfarslegra- og tryggingarannsókna.
Sérhver vísindaleg rannsókn og skimun sem felur í sér að þátttakendur verða fyrir jónandi geislun er háð leyfi Geislavarna ríkisins samkvæmt nánari skilyrðum, m.a. um geislaálag þátttakenda, sem stofnunin setur. Skv. 16. gr. laga nr. 44/2002 um geislavarnir er óheimilt að hefja slíka geislun fyrr en leyfi stofnunarinnar liggur fyrir og að fengnu áliti landlæknis.
Í umsókn um leyfi skal, auk ítarlegra upplýsinga um rannsóknina/skimunina, framkvæmd hennar og tilgang, koma fram áætlað geislaálag hvers þátttakanda og sú hætta á krabbameini sem það getur valdið, fjöldi þátttakenda og aldursdreifing þeirra sem og annað sem máli skiptir með tilliti til geislavarna.
Þátttaka í rannsóknaverkefni eða skimun sem felur í sér geislun þátttakenda skal vera með fúsum og frjálsum vilja þeirra. Þátttakendur skulu veita upplýst samþykki og vera fræddir um þá áhættu sem um getur verið að ræða vegna þeirrar geislunar sem þeir verða fyrir.
Geislavarnir ríkisins annast mat á heildargeislaálagi sjúklinga vegna röntgenrannsókna, sbr. 5. tl. 1. mgr. 5. gr. laga nr. 44/2002 um geislavarnir. Slíkt mat skal fara fram á fimm ára fresti. Þeir sem hafa með höndum slíka starfsemi skulu láta stofnuninni í té nauðsynlegar upplýsingar, sbr. 25. og 26. gr., til þess að matið verði eins raunhæft og kostur er, sbr. 5. mgr. 5. gr. laganna.
Geislavarnir ríkisins gefa út leiðbeiningar um viðmiðunarmörk við geislagreiningu fyrir algengar og geislaþungar röntgenrannsóknir. Viðmiðunarmörk skulu byggja á niðurstöðum er fást við reglubundið mat á heildargeislaálagi sjúklinga við röntgenrannsóknir, sbr. 71. gr., sem og norrænum og evrópskum viðmiðunum. Reynist meðalgeislaálag sjúklinga yfir viðmiðunarmörkum skal viðkomandi heilbrigðisstofnun eða -fyrirtæki grípa til viðeigandi ráðstafana.
Á hverjum þeim stað sem röntgentæki eru notuð til sjúkdómsgreininga skal koma upp virku gæðaeftirliti. Það skal vera í samræmi við umfang starfseminnar og ná jafnt til röntgenbúnaðar sem vinnuaðferða.
Gæðaeftirlit skal taka til:
| 1. | Alls ferlisins frá tilvísun sjúklings, öflun upplýsinga um niðurstöður fyrri rannsókna, undirbúning sjúklings, rannsókn sjúklings, til lýsingar á rannsókn og svars með niðurstöðum rannsóknar. |
| 2. | Greiningu á frávikum á niðurstöðum bæði hvað varðar greiningu og myndgæði. |
| 3. | Grunnreglna við úrbætur. |
| 4. | Gæðamarkmiða svo og tilgangs og markmiðs starfseminnar. |
| 5. | Móttökuprófunar og stöðugleikaprófunar röntgentækja og búnaðar. |
Gæðahandbók skal vera til staðar og innihalda sem grunn, eftirfarandi:
| 1. | Heiti, markmið/tilgang og notkunarsvið. |
| 2. | Efnisyfirlit. |
| 3. | Inngang um skipulag/fyrirkomulag deildar/stofu og gæðahandbókina. |
| 4. | Gæðamarkmið sem og markmið deildarinnar/starfseminnar. |
| 5. | Lýsingu á innra skipulagi, ábyrgðarskiptingu og stjórnun deildarinnar. |
| 6. | Lýsingu á einstökum þáttum gæðaeftirlitsins og tilvísanir til skráðra vinnuferla í því. |
| 7. | Skilgreiningar eftir því sem þörf er á. |
| 8. | Leiðbeiningar eftir því sem þörf er á – sjá 83. gr. |
| 9. | Niðurstöður móttöku og stöðugleikaprófana. |
| 10. | Viðauka eftir því sem þörf er á. |
Einnig er vísað til tækniskýrslunnar, ISO/TR 10013:2001 Leiðbeiningar um gerð gæðahandbóka.
Gæðaeftirlit vegna röntgenbúnaðar getur verið hluti af almennu gæðakerfi á viðkomandi stað.
Við hvert röntgentæki skulu vera skriflegar leiðbeiningar um framkvæmd þeirra röntgenrannsókna sem framkvæmdar eru með tækinu. Í leiðbeiningunum skulu m.a. vera upplýsingar um æskilega framkvæmd rannsóknanna og aðferðir til að draga úr geislaálagi, svo sem pressun, og notkun geislahlífa.
Áður en nýr röntgenbúnaður er tekinn í notkun skal framkvæma móttökuprófun til staðfestingar á að hann uppfylli tæknilegar kröfur sem lagðar voru til grundvallar við val á búnaðinum, svo og að nægileg myndgæði til sjúkdómsgreiningar náist við lægsta mögulega geislaálag, sbr. 41. gr.
Móttökuprófun skal taka til allra þátta búnaðarins sem geta haft áhrif á myndgæði og geislaálag.
Eftir viðgerðir eða breytingar sem geta haft áhrif á myndgæði eða geislaálag skal framkvæma móttökuprófun að nýju hvað varðar þá hluta sem viðgerðir eða breytingar geta haft áhrif á til staðfestingar á að búnaðurinn gefi nægileg myndgæði til sjúkdómsgreiningar við lægsta mögulega geislaálag, sbr. 41. gr.
Með jöfnu millibili skal framkvæma stöðuprófanir og stöðugleikaprófanir á hverjum röntgenbúnaði í þeim tilgangi að tryggja að búnaðurinn gefi enn fullnægjandi myndgæði til sjúkdómsgreiningar við lægsta mögulega geislaálag, sbr. 41. gr.
Í viðauka 1 er að finna almennar kröfur um umfang og framkvæmd móttöku-, stöðu- og stöðugleikaprófana.
Í viðauka 2 er að finna kröfur sem röntgenbúnaður á að uppfylla svo heimilt sé að starfrækja hann.
Skrifleg fyrirmæli og leiðbeiningar skulu vera til staðar hvað varðar framkvæmd prófana. Niðurstöður skulu skráðar með skipulögðum hætti, vera hluti gæðahandbókar og vera aðgengilegar starfsmönnum Geislavarna ríkisins.
Röntgentæki skulu uppfylla kröfur sem gerðar eru samkvæmt lögum nr. 16/2001 um lækningatæki, með síðari breytingum.
Við val á röntgentæki skal þess gætt að röntgentækið valdi eins litlu geislaálagi og unnt er með tilliti til aðstæðna og þess greiningargildis rannsóknar sem að er stefnt, sbr. 41. gr. Þetta á sérstaklega við um röntgentæki sem notuð eru við rannsóknir á börnum, við skimun og við rannsóknir sem valda háu geislaálagi á sjúklinga svo sem við tölvusneiðmyndarannsóknir og inngripsrannsóknir.
Röntgentæki og annar búnaður skulu vera vandlega fest eftir því sem við á. Allar festingar sem notaðar eru skulu vera af réttri stærð og styrk til að bera þann þunga sem um er að ræða. Þess skal gætt að þeir hlutar byggingar sem bera röntgentæki eða annan búnað hafi nægilega burðargetu til þess að standast allt álag vegna þeirra.
Sé sjálfvirk geislastýring ekki notuð þá má lampastraumur við skyggningu vera mest 4 mA við fókus-skerm fjarlægð sem er 1 metri. Við aðrar fjarlægðir gildir hlutfallslegur styrkur miðað við fjarlægð í öðru veldi.
Við sjálfvirka geislastýringu skal geislunarstyrkur við skyggningu vera þannig stilltur að geislunarstyrkur mældur við inngang skyggnimagnara eftir dreifigeislasíu og við 25 cm þvermál geislasviðs, sé ekki meiri en 1,0 mGy/sek. Æskilegt er að geislunarstyrkurinn við þessar aðstæður sé ekki meiri en 0,5 µGy/sek. Geislunarstyrkur má breytast hlutfallslega miðað við breytingar á flatarmáli inngangs skyggnimagnara.
Öll ný röntgentæki sem tekin eru í notkun eftir gildistöku reglugerðarinnar og ætluð eru til skyggningar, skulu leyfa a.m.k. tvær stillingar fyrir sjálfvirka geislastýringu. Þau skulu einnig leyfa púlserandi skyggningu eða aðra geislasparandi tækni sem og vistun síðustu myndar (e. last image hold).
Röntgentæki sem tekin eru í notkun eftir gildistöku reglugerðarinnar og notuð eru við skyggnirannsóknir af meltingarfærum, við æðarannsóknir, inngripsrannsóknir og tölvusneiðmyndarannsóknir svo og röntgentæki sem sérstaklega eru ætluð til rannsókna á börnum skulu vera með búnað sem mælir eða metur þá geislun sem tækið gefur frá sér og þar sem slíkt er mögulegt, búnað sem gefur vísbendingu um geislun á húð sjúklings.
Herbergi þar sem röntgentæki eru sett upp og notuð má ekki nota til annarrar óviðkomandi starfsemi.
Frágangur skal vera þannig að blýgildi skermunar sé í samræmi við töflu 3, í viðauka 3. Fullnægjandi skermun má ná með notkun þungra byggingarefna s.s. steypu eða annarra byggingarefna og blýklæðningar.
Á samskeytum efna, sem notuð eru til skermunar, t.d. blý-blý, blý-blýgler o.fl., skal þess gætt að skörun sé fullnægjandi þannig að skermun minnki ekki við samskeytin, og ekki minni en 1 cm nema tryggt sé að skermun minnki ekki þótt sprungur myndist t.d. steyptur veggur – steypt gólf. Sjá viðauka 3.
Þar sem rjúfa þarf skermun, vegna leiðslna eða annars, skal þess gætt að bæta hana aftur. Sjá viðauka 3.
Við uppsetningu á blýplötum, skal þess gætt að þær renni ekki til vegna eigin þunga.
Þess skal gætt að efni sem notuð eru til skermingar, svo sem múrhúðun o.fl., séu nægilega einsleit og blönduð í réttum hlutföllum.
Aðgangur starfsfólks að röntgenstofu á að vera um "slússur" fremur en blýklæddar hurðir í þeim mæli sem unnt er, sjá mynd í viðauka 3. "Slússur" skulu settar upp þannig að hvorki frumgeisli né dreifigeislun frá sjúklingi fari í gegnum þær. Sjá um hönnun og útfærslu á "slússum" í viðauka 3. Ekki má fara fram myndataka á skyggðu svæðunum.
Miklar kröfur eru gerðar til frágangs á hurðum vegna skörunar á skermingu hurðar og dyrakarms svo og fleiri atriða. Sjá um skörun í viðauka 3. Milli hurðar og gólfs er ekki krafist skörunar, en bilið milli blýplötu í hurð og skermandi efnis í gólfi má ekki vera meira en 1 cm.
Við staðsetningu röntgentækja og fastra skerma skal þess gætt, að óhindruð stefna frumgeisla sé ekki út um glugga, ef hætta er á að fólk verði fyrir geislanum í minna en 30 metra fjarlægð frá fókus röntgenlampans.
Fyrir dreifigeislun gildir að sambærileg fjarlægð er 5 metrar nema við rannsóknir sem valda miklu geislaálagi á sjúklinga svo sem við rannsóknir með tölvusneiðmyndatækjum og inngripsrannsóknir. Geislavarnir ríkisins setja nánari leiðbeiningar um fjarlægð við slíkar rannsóknir.
Staðsetning stjórnborðs skal vera þannig, að starfsmaður, í skermaðri aðstöðu t.d. skermuðum klefa fyrir stjórnborð geti fylgst með sjúklingi á meðan á rannsókn stendur.
Veggir á röntgenstofum eiga að vera skermaðir frá gólfi til lofts. Sé það ekki hægt vegna leiðslna í lofti, skal skermað í a.m.k. 250 cm hæð. Sé ekki skermað til lofts, skal þess gætt að loft sé skermað út fyrir vegg. Breidd skermunar út fyrir vegg skal vera fimm sinnum meiri en fjarlægðin frá efri brún skermunar í vegg að lofti.
Við röntgenstofu á annaðhvort að vera sérstakur klefi fyrir stjórnborð röntgentækisins eða fastur skermur fyrir framan stjórnborðið, til þess að verja starfsfólk fyrir geislun. Skermurinn á að vera þannig að starfsfólk á bak við hann verði ekki fyrir frumgeislun og sem minnstri dreifigeislun. Skermurinn á að vera a.m.k. 2 metrar á hæð og nægilega breiður til þess að allir starfsmenn á röntgenstofunni geti skýlt sér á bak við hann, gerist þess þörf.
Við tölvusneiðmyndatæki skal stjórnborð tækisins ávallt vera fyrir utan röntgenstofuna eða í sérstökum klefa.
Röntgenstofur skulu skermaðar í samræmi við kröfur í töflu 3 í viðauka 3.
Í herbergjum þar sem frumgeisli getur aðeins fallið á myndmiðil eða umbúnað hans, þurfa gólf, veggir, loft og skermar aðeins að hafa blýgildið 1 mm svo framarlega sem:
| a) | tækishlutinn eða skermurinn hafi blýgildi 1,5 mm við hámarkspennu milli 100 og 150 kV, |
| b) | tækishlutinn eða skermurinn hafi blýgildi 1 mm við hámarksspennu milli 70 og 100 kv, |
Beinist frumgeislinn fyrst og fremst að vegg og stöðvist hann þar á hluta tækis eða plötu skal bæta 0,5 mm blýgildi við kröfurnar í lið a) og b).
Á röntgenstofum þar sem aðstaða er þröng og/eða mikil notkun tækjabúnaðar er fyrirsjáanleg, s.s. við notkun tölvusneiðmyndatækja, geta Geislavarnir ríkisins gert kröfur um öflugri skermun.
Gólf, loft og veggir skulu hafa blýgildi eins og krafist er fyrir loft í töflu 3 í viðauka 3.
Þar sem færanleg röntgentæki eru á slíkum deildum utan röntgendeildar og notkunin er regluleg, það er a.m.k. einu sinni á dag að jafnaði miðað við 50 almenna vinnudaga, skal skerma gólf, loft og veggi í samræmi við kröfur um skermun lofts í töflu 3, í viðauka 3. Sé notkun minni, þarf ekki að skerma sérstaklega vegna hennar. Notuð skulu byggingarefni sem veita skermun.
Gólf, loft, veggir og skermar fyrir starfsmenn skulu hafa blýgildi eins og krafist er fyrir loft í töflu 3 í viðauka 3, þegar um stærri beinþéttnimælitæki er að ræða og geislunarstyrkur við brún vinnuborðs getur orðið meiri en 2,5 µGy/klst. við framkvæmd rannsóknar.
Geislavarnir ríkisins annast reglubundið eftirlit með notkun röntgenbúnaðar samkvæmt 17. gr. laga nr. 44/2002. Í því skyni skal starfsmönnum Geislavarna ríkisins heimill aðgangur að sérhverjum þeim stað, þar sem röntgentæki eru notuð og geymd. Þess ber að gæta, að eftirlitið valdi sem minnstri röskun á daglegri starfrækslu röntgentækja.
Geislavarnir ríkisins skulu samkvæmt 18. gr. laga nr. 44/2002, fyrirskipa eigendum röntgentækja að framkvæma þær lagfæringar, sem taldar eru nauðsynlegar. Ef lagfæringar eru eigi framkvæmdar innan tiltekins frests, er heimilt að stöðva frekari notkun þeirra þar til lagfæring hefur farið fram.
Geislavarnir ríkisins skulu samkvæmt 18. gr. laga nr. 44/2002, stöðva frekari notkun geislavirkra efna og geislatækja, þar til úrbætur hafa verið gerðar, sé öryggisútbúnaði þess stórlega ábótavant.
Skráður eigandi röntgentækis skal samkvæmt 19. gr. laga nr. 44/2002, greiða gjald fyrir reglubundið eftirlit Geislavarna ríkisins skv. gjaldskrá heilbrigðis- og tryggingamálaráðherra vegna eftirlitsins.
Eftirlit Geislavarna ríkisins með notkun röntgentækja tekur til þeirra þátta sem hafa áhrif á geislaálag starfsfólks, sjúklinga og almennings auk annars sem tiltekið er í lögum nr. 44/2002 um geislavarnir, reglugerðum og leiðbeiningum settum með stoð í þeim. Markmið eftirlitsins er að læknisfræðileg notkun röntgengeislunar sé sem árangursríkust. Í því felst m.a. að geislaálag við notkunina sé eins lítið og unnt er að teknu tilliti til greiningargildis og með skynsamlegu tilliti til aðstæðna. Einnig skal eftirlitið fela í sér leiðbeiningar og fræðslu um geislavarnir.
Reglubundið eftirlit Geislavarna ríkisins með notkun röntgentækja beinist einkum að eftirfarandi:
| 1. | Framkvæmd og niðurstöðum gæðaeftirlits. |
| 2. | Mati á geislaálagi sjúklinga. |
| 3. | Geislavörnum starfsfólks, sjúklinga og almennings. |
| 4. | Röntgenaðstöðu og þeim röntgenbúnaði sem þar er í notkun. |
| 5. | Leiðbeininga og fræðslu um geislavarnir. |
Reglubundnar úttektir og athuganir eru mikilvægur hluti af eftirliti Geislavarna ríkisins með notkun röntgentækja. Lögð er áhersla á úttektir á framkvæmd og niðurstöðum gæðaeftirlits, þar með taldar viðeigandi samanburðarmælingar, auk mats á geislaálagi sjúklinga sem og annarra mikilvægra þátta sem áhrif hafa á geislavarnir við notkunina.
Geislavarnir ríkisins skulu, á 4 ára fresti, framkvæma eftirlit með röntgentækjum sem einkum eru notuð við framkvæmd einfaldra röntgenrannsókna t.d. af útlimum og fjöldi árlegra rannsókna er undir 1000. Sé um að ræða umfangsmeiri notkun röntgentækja eða sérhæfðari svo sem notkun skyggnibúnaðar eða aðra sérhæfða notkun skal stofnunin framkvæma eftirlit á 2 ára fresti.
Brot gegn ákvæðum reglugerðar þessarar varða fésektum eða fangelsi allt að tveimur árum nema þyngri refsing liggi við samkvæmt öðrum lögum, sbr. 22. gr. laga nr. 44/2002.
Um mál sem rísa kunna út af brotum á reglugerð þessari fer að hætti opinberra mála.
Reglugerð þessi, sem sett er með stoð í 4. mgr. 10. gr., 4. mgr. 13. gr., 5. mgr. 15. gr., 4. mgr. 17. gr., sbr. 21. gr. laga nr. 44/2002 um geislavarnir, öðlast þegar gildi.
Í töflu 1 eru talin upp þau atriði sem móttöku-, stöðu- og stöðugleikaprófun á röntgenbúnaði tekur til svo og hve oft einstök atriði stöðu- og stöðugleikaprófana skulu framkvæmd. Heimilt er að framkvæma aðrar prófanir sem staðfesta með sambærilegum hætti þau atriði sem um er að ræða. Móttökuprófunum er fylgt eftir með reglubundnum stöðu- og stöðugleikaprófunum, sem framkvæmdar eru með fyrirfram ákveðnu millibili til að skrá ástand búnaðarins. Markmið stöðu- og stöðugleikaprófana er að tryggja fullnægjandi myndgæði svo og að kröfur í viðauka 2 séu uppfylltar.
Tafla 1. Atriði sem móttöku-, stöðu- og stöðugleikaprófanir taka til.
|
Þættir til skoðunar og undirþættir
|
Tíðni og/eða tímabil
prófana / skoðana |
|||
|
Móttöku-prófun
|
Stöðu-
prófun |
Stöðugleika-prófun
|
||
| Myrkraherbergi | ||||
|
1
|
Ljósþéttni herbergis |
x
|
árlega
|
|
|
2
|
Ljósþéttni filmuskúffu |
x
|
árlega
|
|
|
3
|
Dimmuljós |
x
|
árlega
|
|
| Framköllunarvél og vökvar | ||||
|
1
|
Næmnigreining |
x
|
daglega
|
|
|
2
|
Flutningstími filmu |
x
|
árlega
|
|
|
3
|
Endurnýjun framköllunarvökva |
x
|
árlega
|
|
|
4
|
Myndgallar á filmum |
x
|
árlega
|
|
| Filmur | ||||
|
1
|
Næmnigreining |
x
|
árlega
|
|
|
2
|
Myndgallar á filmum |
x
|
árlega
|
|
| Mögnunarþynnur | ||||
|
1
|
Næmni mögnunarþynnu |
x
|
árlega
|
|
|
2
|
Frávik á næmni á milli þynna í sama næmniflokki |
x
|
árlega
|
|
| Filmuhylki | ||||
|
1
|
Þéttni filmuhylkja m.t.t. samloðunar, ljósþéttni og læsingar |
x
|
á 6 mánaða fresti
|
|
| Ljósaskápar | ||||
|
1
|
Litur á ljósi |
x
|
árlega
|
|
|
2
|
Ljósstyrkur |
x
|
árlega
|
|
|
3
|
Ljósstyrkur sé jafn á skáp og milli skápa |
x
|
árlega
|
|
|
4
|
Umhverfislýsing |
x
|
árlega
|
|
| Röntgenaflgjafi (generator) | ||||
|
1
|
Háspenna |
x
|
árlega
|
|
|
2
|
Stöðugleiki útgangsgeislunar við endurtekningu |
x
|
mánaðarlega
|
|
|
3
|
Línuleiki (mAs) eða straumur × geislunartími (mA × s) tækisins |
x
|
árlega
|
|
|
4
|
Geislunartími |
x
|
árlega
|
|
|
5
|
Virkni búnaðar, s.s. geislunarrofa, aðvörunarljósa og annars öryggisbúnaðar |
x
|
árlega
|
|
| Röntgenlampi og geislablendur | ||||
|
1
|
Heildarsíun röntgenlampa |
x
|
árlega
|
|
|
2
|
Fókusstærð |
x
|
||
|
3
|
Ljóssvið / geislasvið |
x
|
mánaðarlega
|
|
|
4
|
Miðja geislasviðs og stærð geislasviðs |
x
|
árlega
|
|
| Svertustýring | ||||
|
1
|
Samanburður á milli mælisviða |
x
|
árlega
|
|
|
2
|
Miðað við spennu (sverta/geislaskammtur) |
x
|
árlega
|
|
|
3
|
Miðað við þykkt (sverta/geislaskammtur) |
x
|
árlega
|
|
|
4
|
Stöðugleiki við endurtekningu |
x
|
mánaðarlega
|
|
| Myndgæði í skyggnihlekk (Skyggnihlekkur - sjónvarpsskjár) | ||||
|
1
|
Stærð geislasviðs |
x
|
mánaðarlega
|
|
|
2
|
Myndbjögun og stilling á sjónvarpsskjá |
x
|
árlega
|
|
|
3
|
Upplausnargeta |
x
|
mánaðarlega
|
|
|
4
|
Mat á (lág-kontrast) næmni |
x
|
mánaðarlega
|
|
|
5
|
Geislunarstyrkur við inngang skyggnimagnara |
x
|
árlega
|
|
|
6
|
Straumur í skyggningu |
x
|
||
|
7
|
Geislaskammtur á mynd |
x
|
árlega
|
|
| Búnaður til stafrænna æðarannsókna- DSA | ||||
|
1
|
Upplausnargeta |
x
|
árlega
|
|
|
2
|
Mat á lágkontrastnæmni |
x
|
vikulega
|
|
|
3
|
Einsleitni í kontrast |
x
|
árlega
|
|
|
4
|
Einsleitni í upplausn |
x
|
árlega
|
|
|
5
|
Línuleiki í næmni |
x
|
árlega
|
|
|
6
|
Myndgallar |
x
|
árlega
|
|
|
7
|
Geislaskammtur á hverja mynd |
x
|
árlega
|
|
| Myndgæði á greiningaskjá | ||||
|
1
|
Ljósstyrkur |
x
|
árlega
|
|
|
2
|
Stillingar (prófunarmyndir) |
x
|
mánaðarlega
|
|
|
3
|
Myndbjögun og stilling á skjá |
x
|
mánaðarlega
|
|
|
4
|
Upplausnargeta |
x
|
árlega
|
|
|
5
|
Myndsuð |
x
|
árlega
|
|
| Stafrænar myndplötur | ||||
|
1
|
Skemmdir á myndplötu / óhreinindi |
x
|
árlega
|
mánaðarlega
|
|
2
|
Næmnigreining með gráskala frá lestrareiningu tækisins |
x
|
daglega
|
|
|
3
|
Bakgrunnssuð á myndplötu án lýsingar |
x
|
árlega
|
|
|
4
|
Hámarksmettun myndplötu við ákveðna geislun |
x
|
árlega
|
|
|
5
|
Svertumunur á milli myndplatna miðað við ákveðna geislun |
x
|
árlega
|
|
|
6
|
Línuleiki í næmni, við mismunandi geislaskammta (mAs) sem breytast tug hækkandi/lækkandi. |
x
|
á 6 mánaða fresti
|
|
|
7
|
Upplausnargeta |
x
|
árlega
|
|
|
8
|
Lágkontrast næmni |
x
|
árlega
|
|
|
9
|
Myndgallar |
x
|
árlega
|
|
|
10
|
Rof-geislaskammtur "svertustýringar" |
x
|
árlega
|
|
| Tölvusneiðmyndatökur | ||||
|
1
|
Myndsuð |
x
|
vikulega
|
|
|
2
|
HU eining fyrir vatn |
x
|
vikulega
|
|
|
3
|
Stærð á mynddíl (pixel stærð) |
x
|
árlega
|
|
|
4
|
Upplausn |
x
|
árlega
|
|
|
5
|
Sneiðþykkt |
x
|
árlega
|
|
|
6
|
Geislaskammtur við algeng tökugildi (CTDI) |
x
|
árlega
|
|
|
7
|
Einsleitni efna með háa atómtölu |
x
|
árlega
|
|
|
8
|
Línuleiki HU-eininga |
x
|
árlega
|
|
|
9
|
Borðfærsla |
x
|
árlega
|
|
|
10
|
Ljósvísir |
x
|
vikulega
|
|
| Blýgúmmívarnir | ||||
|
1
|
Svuntur – til staðar og nothæft |
x
|
árlega
|
|
|
2
|
Hanskar – til staðar og nothæft |
x
|
árlega
|
|
|
3
|
Kynkirtlavarnir – til staðar og nothæft |
x
|
árlega
|
|
|
4
|
Lausir og fastir skermar |
x
|
árlega
|
|
|
Mammografíu myndataka
|
||||
| Myrkraherbergi | ||||
|
1
|
Ljósþéttni herbergis og filmuskúffu |
x
|
vikulega
|
|
|
2
|
Dimmuljós |
x
|
árlega
|
|
| Framköllunarvél og önnur efni | ||||
|
1
|
Hitastig framköllunarvökva |
x
|
daglega
|
|
|
2
|
Næmnigreining |
x
|
daglega
|
|
|
3
|
Flutningshraði filmu |
x
|
árlega
|
|
|
4
|
Endurnýjun vökva |
x
|
daglega
|
|
|
5
|
Myndgallar á filmu |
x
|
vikulega
|
|
| Filmur | ||||
|
1
|
Næmnigreining |
x
|
daglega
|
|
|
2
|
Myndgallar á filmu |
x
|
vikulega
|
|
| Mögnunarþynnur | ||||
|
1
|
Næmni mögnunarþynnu |
x
|
árlega
|
|
|
2
|
Frávik á næmni á milli þynna |
x
|
árlega
|
|
| Filmuhylki | ||||
|
1
|
Þéttni filmuhylkja m.t.t. ljósþéttni og læsinga |
x
|
árlega
|
|
|
2
|
Samloðun filmuhylkja (þynnusnerting) |
x
|
mánaðarlega
|
|
|
3
|
Filmuhylki m.t.t. óhreininda |
vikulega
|
||
| Ljósaskápar | ||||
|
1
|
Litur á ljósi (hvítt ljós - gult ljós - bláleitt ljós) |
x
|
árlega
|
|
|
2
|
Ljósstyrkur |
x
|
árlega
|
|
|
3
|
Ljósstyrkur sé jafn á skáp og milli skápa |
x
|
árlega
|
|
|
4
|
Umhverfislýsing |
x
|
árlega
|
|
| Röntgenaflgjafi | ||||
|
1
|
Stöðugleiki við endurtekningu |
x
|
á 6 mánaða fresti
|
|
|
2
|
HVL (helmingunarþykkt) |
x
|
árlega
|
|
|
3
|
Geislunartími |
x
|
árlega
|
|
| Röntgenlampi og geislablendur | ||||
|
1
|
Fókusstærð |
x
|
||
|
2
|
FFF- fókus-filmu-fjarlægð |
x
|
||
|
3
|
Miðjun geisla og stærð geislasviðs |
x
|
árlega
|
|
|
4
|
Geislaskammtur í lofti |
x
|
árlega
|
|
| Svertustýring | ||||
|
1
|
Sverta við staðlaða stillingu á mælisviði |
x
|
á 6 mánaða fresti
|
|
|
2
|
Svertumunur á milli stillinga |
x
|
á 6 mánaða fresti
|
|
|
3
|
Stöðugleiki svertu við endurtekningu |
x
|
á 6 mánaða fresti
|
|
|
4
|
Sverta miðað við mismunandi þykkt |
x
|
mánaðarlega
|
|
|
5
|
Stöðugleiki geislaskammts við endurtekningu |
x
|
á 6 mánaða fresti
|
|
|
6
|
Stöðugleiki svertu við mismunandi spennu |
x
|
á 6 mánaða fresti
|
|
| Myndatökustandur | ||||
|
1
|
Þrýstingur pressu |
x
|
mánaðarlega
|
|
|
2
|
Stöðugleiki pressuplötu |
x
|
árlega
|
|
|
3
|
Þáttur dreifigeislasíu |
x
|
||
| Geislaskammtar og myndgæði | ||||
|
1
|
Meðalgeislaskammtur á brjóstvef |
x
|
árlega
|
|
|
2
|
Upplausnargeta |
x
|
vikulega
|
|
|
3
|
Mat á lágkontrast næmni |
x
|
vikulega
|
|
Í töflu 2 eru tilteknar kröfur sem röntgenbúnaður sem notaður er við læknisfræðilega myndgreiningu á að uppfylla. Ef búnaður uppfyllir ekki þessar kröfur er líklegt að hann nái ekki nægilegum myndgæðum með sem lægstu geislaálagi sjúklings. Því þarf að framkvæma viðeigandi lagfæringar. Ef þær bera ekki árangur er það vísbending um að hugsanlega þurfi að endurnýja búnaðinn eða hluta hans.
Tafla 2. Lágmarksviðmiðanir vegna starfrækslu röntgenbúnaðar.
| Rekstrarþættir | Rekstrarskilyrði | |
| Myrkraherbergi | ||
| Ljósþéttni herbergis | Ekkert sýnilegt ljós eftir 5 mín. aðlögun | |
| Dimmuljós | Svertuaukning £ 0,05 eftir 4 mín. | |
| Framköllunarvél og filmur | ||
| Næmnigreining | Grunnsverta £ 0,25 næmni ± 0,15 kontrast ± 0,15 |
|
| Mögnunarþynnur | ||
| Næmniflokkur | Næmniflokkur við almenna notkun >200 (á ekki við um þynnur sem notaðar eru fyrir lungnarannsóknir, útlimi, mammógrafíur og aðrar sérstakar rannsóknir. | |
| Hámarksfrávik á næmni á milli mögnunarþynna í sama næmniflokki | Svertumunur £ 0,2 | |
| Filmuhylki | ||
| Þéttni filmuhylkja - þynnusnerting | Enginn svertumunur eða óskörp svæði | |
| Ljósaskápar | ||
| Ljósstyrkur | > 1700 cd/cm2 | |
| Ljósstyrkur sé jafn á skáp og milli skápa | £ 15% og einnig 15% á milli kassa | |
| Umhverfislýsing | £ 50 lux 1 m frá ljósaskáp (50-100 lux í herbergi en ekki meir en 300 lux) | |
| Röntgenaflgjafi (generator) | ||
| Háspenna, nákvæmni | < 10% | |
| Stöðugleiki útgangsgeislunar við endurtekningu | £ 10% | |
| Línuleiki mAs (margfeldi lampastraums x geislunartíma) | £ 20% til og með 10 mAs £ 10% við meira en 10 mAs |
|
| Geislunartími | £ 30% til og með 20 ms £ 20% yfir 20 ms og undir 50 ms £ 10% yfir 50 ms |
|
| Röntgenlampi og geislablendur | ||
| Ljóssvið / geislasvið | £ 1% af FFF (fókus-filmufjarlægð) | |
| Miðja geislasviðs og stærð geislasviðs | £ 1% af FF (fókus fjarlægð) | |
| Heildardeyfing | > 2,5 mm al | |
| Svertustýring | ||
| Samanburður á milli mælisviða | Svertumunur £ 0,2 | |
| Miðað við spennu | Svertumunur £ 0,2 | |
| Miðað við þykkt | Svertumunur £ 0,2 | |
| Stöðugleiki við endurtekningu | Svertumunur £ 0,2 | |
| Myndgæði í skyggnihlekk (Skyggnihlekkur – sjónvarpsskjár) | ||
| Upplausnargeta | > 1,12 lp/mm | |
| Mat á lágkontrast upplausn | betri en 4% | |
| Geislunarstyrkur við inngang skyggnimagnara (mælt fyrir aftan dreifigeislasíu, miðað við 25 cm þvermál) | £ 0,5 µGy/s fyrir almennar æðarannsóknir £ 1,0 µGy/s fyrir sérstakar rannsóknir > 1,0 µGy/s fyrir aðrar sérrannsóknir |
|
| Búnaður til stafrænna æðarannsókna DSA | ||
| Lágkontrast upplausn | £ 20% frá uppsetningu | |
| Tölvusneiðmyndatökur | ||
| Myndsuð | £ 20% frá uppsetningu | |
| HU fyrir vatn | £ 20 HU | |
| Hákontrast upplausn | £ 20% frá uppsetningu | |
| Lágkontrast upplausn | £ 20% frá uppsetningu | |
| Sneiðþykktir | £ 20% frá uppsetningu | |
| Nákvæmni í færslu sjúklingaborðs | £ 2 mm við 200 mm færslu | |
| Geislaskammtur (CTDI ) | £ 20% frá uppsetningu | |
|
Mammógrafíu myndataka
|
||
| Myrkraherbergi | ||
| Ljósþéttni herbergis | Ekkert sýnilegt ljós eftir 5 mín. aðlögun | |
| Dimmuljós | Svertuaukning 0,05 eftir 4 mín. | |
| Framköllunarvél | ||
| Næmnigreining | Grunnsverta < 0,2 næmni ± 0,10 kontrast ± 0,10 (sé á bilinu 2,8 – 3,2, miðað við svertusviðið 0,25 til 2,0 + grunnsverta) |
|
| Mögnunarþynnur og filmuhylki | ||
| Hámarksfrávik á næmni á milli hylkja | Svertumunur £ 0,2 | |
| Þéttni filmuhylkja - þynnusnerting | Enginn svertumunur eða óskörp svæði | |
| Ljósaskápar | ||
| Ljósstyrkur | 2000 - 6000 cd/cm2 | |
| Ljósstyrkur sé jafn á skáp og milli skápa | £ 15% og einnig 15% á milli kassa | |
| Umhverfislýsing | £ 50 lux 1 m frá ljósaskáp | |
| Röntgenaflgjafi (generator) | ||
| Háspenna, nákvæmni | Frá 25 – 31 kV 1 kV | |
| Stöðugleiki útgangsgeislunar við endurtekningu | £ 0,5 kV | |
| Geislunartími | £ 2 sek. við 45 mm PMMA fantóm | |
| Röntgenlampi og blendur | ||
| Heildardeyfing | > 0,3 mm al | |
| Fókus filmufjarlægð | ³ 600 mm | |
| Miðja geislasviðs og stærð geislasviðs | Brún geislasviðs við brjóstvegg £ 5 mm fyrir utan filmu, að öðru leyti skal geislasvið vera jafnstórt filmu | |
| Geislaskammtur | ³ 7,5 mGy/sek í 600 mm FFF | |
| Svertustýring | ||
| Sverta við algengustu staðsetningarstillingu | £ 0,15 miðað við upphafsgildi | |
| Svertumunur á milli staðsetningarstillinga | svertumunur 0,1 til 0,2 | |
| Svertumunur við breytilega spennu | £ 0,15 | |
| Svertumunur við breytilega þykkt myndefnis | £ 0,15 | |
| Röntgentækið-pressa | ||
| Hámarks pressa | Frá 130 til 200 N | |
| Stöðugleiki pressuplötu við ójafnt álag | £ 15 mm hornrétt á myndefni | |
| Stöðugleiki pressuplötu við jafnt álag | £ 5 mm hornrétt á myndefni | |
| Síuþáttur | £ 3 | |
| Geislaskammtur og myndgæði | ||
| Viðmiðunarmörk, geislaskammtur, mældur í lofti, við 45 mm PMMA fantóm | £ 12 mGy | |
| Upplausn | ³ 12 lp/mm í báðar áttir | |
| Lágkontrast upplausn | £ 1% fyrir 3 mm myndefni | |
Markmiðið með skermun röntgenaðstöðu er að takmarka geislun á starfsmenn og almenning sem geta verið nálægt aðstöðunni. Þær kröfur sem fram koma í töflu 3 og meðfylgjandi texta eiga að veita fullnægjandi skermun í flestum tilfellum.
Tafla 3. Blýgildi skermunar.
|
Hámarksspenna yfir
röntgenlampa |
Veggir í 2,5 metra hæð og skermar f. starfsfólk
|
Loft og veggir fyrir
ofan 2,5 metra hæð |
Gólf
|
|
til og með 70 kV
|
0,25 mm
|
-
|
-
|
|
yfir 70 kV,
til og með 100 kV |
1,5 mm
|
1,0 mm
|
2,0 mm
|
|
yfir 100 kV,
til og með 150 kV |
2,0 mm
|
1,0 mm
|
2,5 mm
|
|
yfir 150 kV,
til og með 200 kV |
2,5 mm
|
1,5 mm
|
3,0 mm
|
Fyrir útveggi og loft, þar sem enginn getur verið nær en 3 metrum, er hægt að minnka skermunina í ofangreindri töflu samkvæmt eftirfarandi:
0,25 mm við spennu til og með 70 kV.
0,5 mm við spennu yfir 70 kV og til og með 200 kV.
Útveggi og loft, þar sem enginn getur verið nær en 30 metra, þarf ekki að skerma sérstaklega. Sérstaklega skal skerma til viðbótar, á bakvið filmuhylkishaldara og lungnastanda, með 1,0 mm blýi eða samsvarandi. Stærð þessarar aukaskermunar skal vera þannig að geislasviðið sé ávallt a.m.k. 20 cm fyrir innan skermunina.
Fyrir röntgengeislun á bilinu 50 til 200 kV, hafa eftirfarandi efnisþykktir blýgildi jafnt og 1 mm blýs;
70 mm steinsteypa (2,2 gr/cm2)
100 mm múrsteinn (1,9 gr/cm2)
300 mm léttsteypa (0,6 gr/cm2)
Dæmi um frágang á festingum blýskermunar:

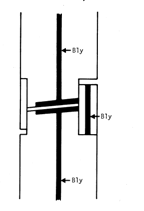
![]() |
Slússur skulu settar upp á þann hátt að hvorki frumgeisli né dreifigeislun frá sjúklingi fari í gegnum þær. Ekki má fara fram myndataka á skyggðu svæðunum. |
um skörun blýskermunar í dyrum.

Blý hefur rúmþyngdina 11,3 g/cm3 (11.300 kg/m3). Með blýgildi skermunar er átt við þá blýþykkt, sem dregur jafn mikið úr geisluninni og skermunin. Í eftirfarandi töflum er gefið upp blýgildi fyrir nokkur byggingarefni, þar sem fram kemur nauðsynleg þykkt byggingarefna miðað við þá orku röntgentækja sem notuð verða í aðstöðunni og þess blýgildis sem krafist er.
| Byggingarefni |
Rúmþyngd
(kg/m3) |
Blýgildi
(mm Pb) |
Þykkt byggingarefnis (mm)
|
||
|
70 kV
|
100 kV
|
150 kV
|
|||
|
Steypa
|
2350
|
0,25
|
30
|
25
|
30
|
|
0,50
|
60
|
45
|
60
|
||
|
1,0
|
100
|
80
|
105
|
||
|
2,0
|
-
|
140
|
180
|
||
|
Múrsteinn
|
1800
|
0,25
|
35
|
35
|
-
|
|
0,50
|
70
|
70
|
84
|
||
|
1,0
|
125
|
120
|
150
|
||
|
2,0
|
-
|
195
|
260
|
||
|
Stál
|
7900
|
0,25
|
1,6
|
1,6
|
3,3
|
|
0,50
|
3,2
|
3,2
|
6,6
|
||
|
1,0
|
6,4
|
6,4
|
14,0
|
||
|
2,0
|
-
|
13
|
28
|
||
|
Gifs
|
840
|
0,25
|
55
|
55
|
-
|
|
0,50
|
110
|
110
|
-
|
||
|
1,0
|
220
|
200
|
-
|
||
|
Gler
|
2500
|
0,25
|
30
|
-
|
-
|
|
0,50
|
45
|
45
|
|||
|
1,0
|
-
|
-
|
-
|
||
Þannig hafa t.d. 4 x 13 mm gifsplötur skermunargildi á við 0,25 mm blý, miðað við 70 kV. Þá hefur 100 mm þykk vikurplata og 80 mm ákast (pússning) blýgildi 1 mm (og vel það).